自动开合装置

秀场自动开合装置
图片尺寸360x321
多功能锅炉烟囱自动开合控制装置简介
图片尺寸920x690
一种工件的铰链式自动开合取料装置及方法
图片尺寸1731x949
盘管自动开合装置_cn201730564196.1_cn304679187s_飞镖网
图片尺寸468x607
花 #电动花 #仿真开合花 #机械 #食品机械 #机械设计 #艺术装置
图片尺寸720x960
盘管自动开合装置_cn201730564196.1_cn304679187s_飞镖网
图片尺寸460x539
承托件的自动开合装置-爱企查
图片尺寸2044x1372
自动上下料及滚桶自动开合盖装置
图片尺寸500x530
工业容器自动开合盖装置
图片尺寸1745x2269
一种滚塑模自动开合装置的制作方法
图片尺寸1614x1309
自助饮品机自动开合门装置
图片尺寸820x443
左右开合装置
图片尺寸405x220
左右开合装置
图片尺寸1159x634
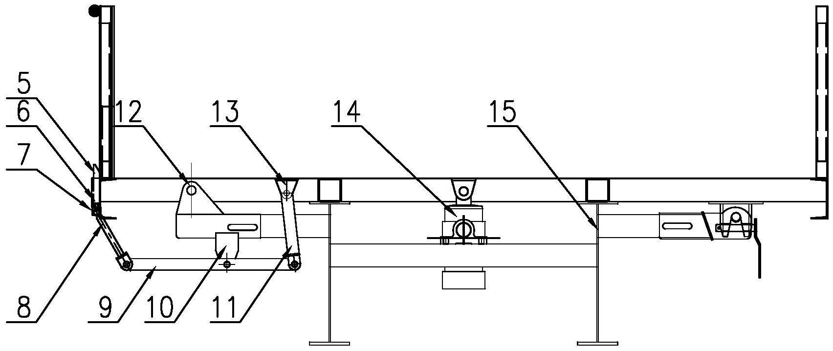
侧翻半挂车多连杆自动开合装置
图片尺寸1704x718
一种煤矿充填刮板输送机插板开合装置
图片尺寸1446x1259
一种趟门自动开合装置-爱企查
图片尺寸1614x1314
隔热材料生产复合装置
图片尺寸300x225
自动开合装置图纸合集的封面图
图片尺寸285x206
一种工件的铰链式自动开合取料装置及方法与流程
图片尺寸1000x548
【一种单电机控制双窗帘自动开合装置专利查询】专利号|摘要-企查查
图片尺寸1812x1058