自动脱落装置

铁道货车脱轨自动制动装置
图片尺寸500x375
废袋脱袋用自动脱钩器02 山东全自动脱钩装置 可计量称重
图片尺寸1280x720
工程元件部件绝热紧固件装置的制造及其应用技术
图片尺寸1000x976
重载型电动夹爪如何与其他自动化设备实现无缝集成?
图片尺寸1200x800
让利销售铁路货车脱轨自动制动装置压力试验台价格合理
图片尺寸800x800
一种家禽传送自动脱落装置-爱企查
图片尺寸1720x1521
头盔防脱落试验机装置_en1078工艺试验机-东莞宏图仪器有限公司
图片尺寸852x1136
一种自动脱落无人机防护装置
图片尺寸1043x1609
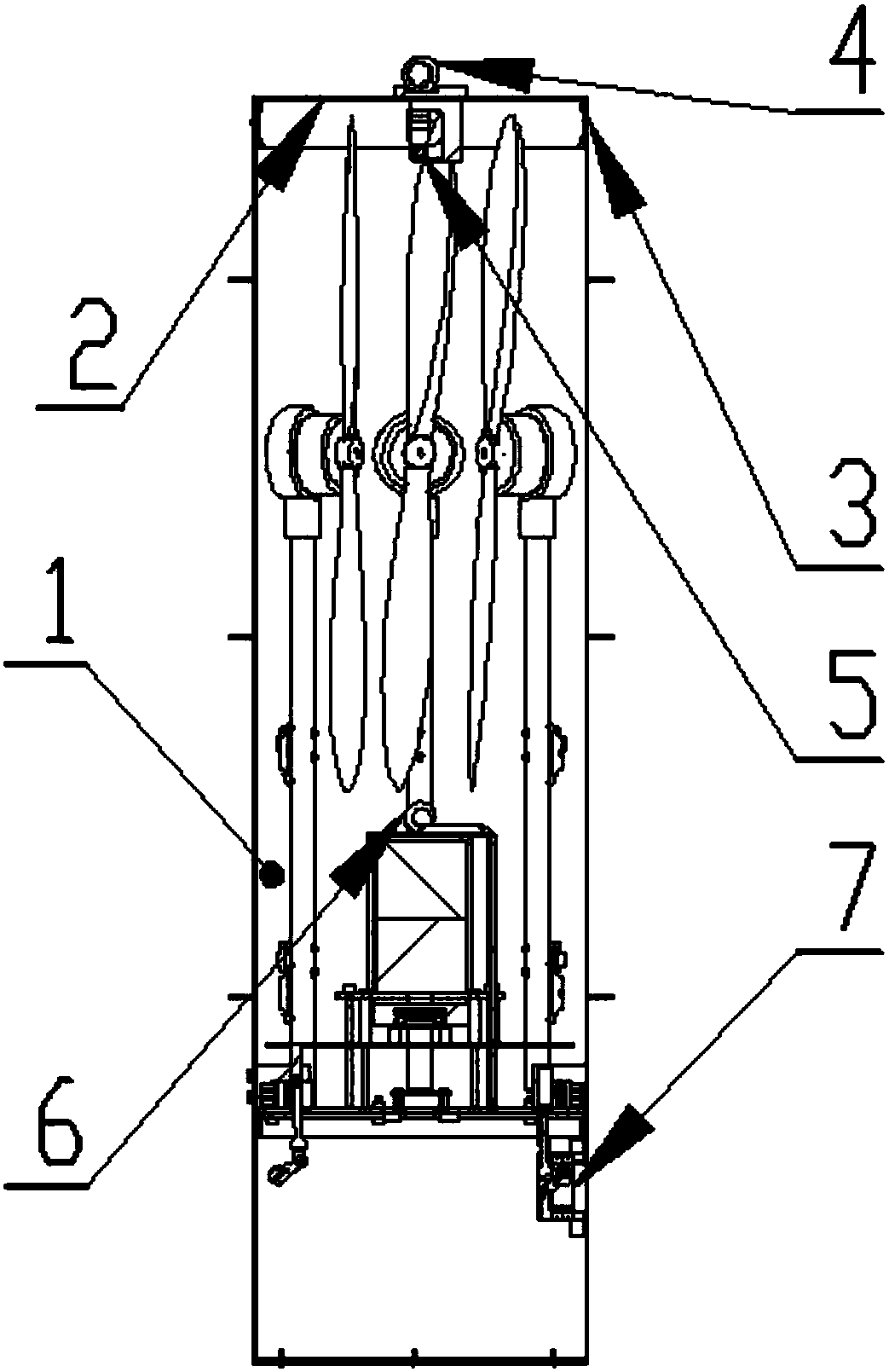
自升式塔式起重机顶升防脱安全装置
图片尺寸1477x2011
非油炸方便面饼烘干后自动震动式脱落装置的制作方法
图片尺寸1000x475
具有自动脱泥功能的上清液排放装置-爱企查
图片尺寸1709x1584
一种连接器旋转对接自动脱落回收装置制造方法及图纸
图片尺寸912x1000
cn102424323a_自动扶梯或自动人行道上检测扶手带脱落装置有效
图片尺寸1808x1514
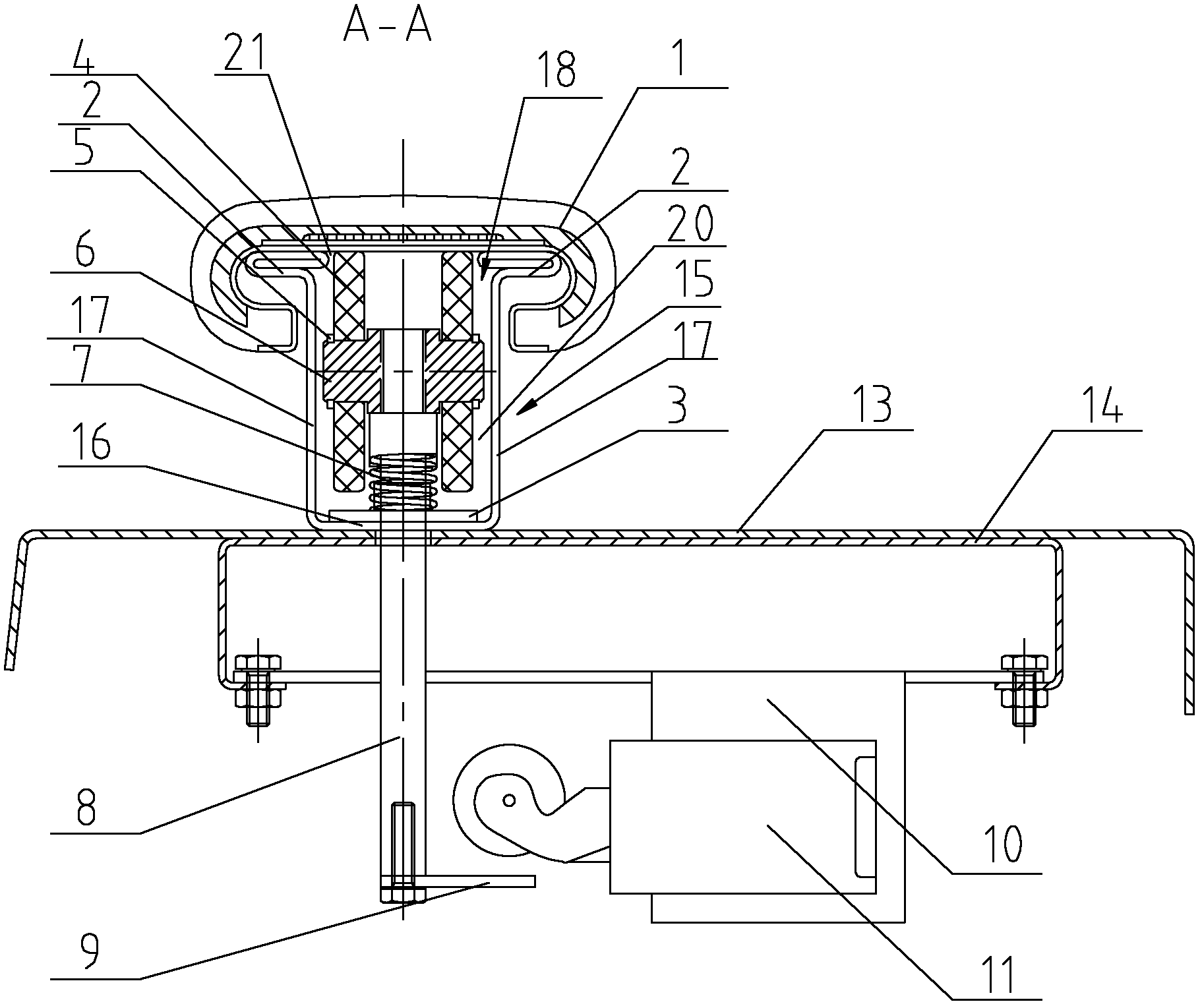
⑧钢丝绳防脱槽装置:是防止钢丝绳在转动运行中跳动出槽,导致钢丝绳被
图片尺寸561x404
自复装置阻轮器600轨距
图片尺寸956x781
自动扶梯或自动人行道上检测扶手带脱落装置
图片尺寸1823x1529
5.特种设备(行吊)无防脱落装置
图片尺寸4032x3024
cn105066795b_一种连接器旋转对接自动脱落回收装置有效
图片尺寸910x1000
水口可自动分离脱落的半自动化切水口装置
图片尺寸316x443
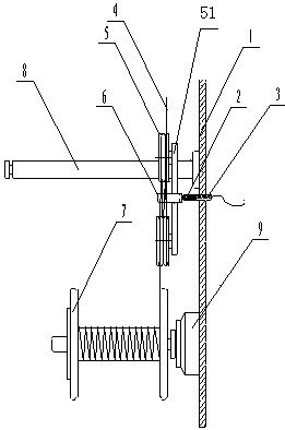
一种分体式防钢丝脱落装置
图片尺寸261x394