自动雨伞原理

cn102068095a_一种具安全防护功能的自动开合伞有效
图片尺寸1618x2308
cn2822302y_一种全自动雨伞失效
图片尺寸1635x2271
cn201541885u_身背式全自动电子追日伞失效
图片尺寸2260x2608
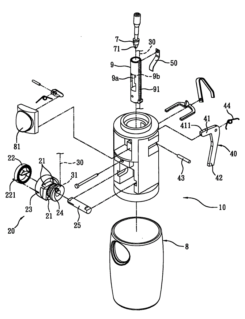
cn202364993u_易收伞的自动开收伞失效
图片尺寸800x1730
一把伞一段故事-雨伞制造过程
图片尺寸700x548
一种自动开合伞
图片尺寸2417x1318
纯色通勤折叠十骨雨伞全自动双层加固男女士晴雨两用大遮阳伞便携
图片尺寸750x472
空气伞的工作原理:首先让空气从伞柄底部的进气口吸入,加速后从顶部的
图片尺寸468x575
自动伞结构与功能原理-雨伞定制知识-绿源雨伞生产厂家
图片尺寸500x453
pejafan雨伞双人防风加固全自动折叠伞男士女大号晴雨两用太阳伞-t
图片尺寸658x471
cn1087249a_改良全自动伞失效
图片尺寸1184x2314
2015全自动爱心晴雨伞 淘宝热卖一件代发 小清新女士遮阳伞
图片尺寸749x667
小米米家自动雨伞图赏:一键开合
图片尺寸2448x3264
cn201700570u_自动开收伞的防弹回装置失效
图片尺寸800x1042
自动伞的制作方法
图片尺寸610x1000
以上就是自动雨伞「开伞-关伞-收伞」的过程,弄懂了原理,下面我们进行
图片尺寸600x363
04全自动雨伞素色防风遮阳自动伞商务双人折叠伞户外
图片尺寸750x510
具有计费功能的雨伞的制作方法
图片尺寸1000x746
cn101721024a_一种太阳能自动伞失效
图片尺寸2004x1685
cn201846969u_一种自动开合伞伞头按钮部份的改良结构有效
图片尺寸1186x2867