舵的结构

2-2-2舵的类型和结构
图片尺寸1080x810
"欹帆侧柁入波涛,撤漩捎濆无险阻":浅析船舵小史
图片尺寸579x557
舵的一般名称
图片尺寸658x392
帆船航行时经常是这样倾斜着航行的,帆船中的重要结构——龙骨,不仅
图片尺寸1080x1470
第四章船体舾装检验 舵系制造和安装检验 船舶舵系结构型式 一,按支承
图片尺寸1080x810
舵机结构解析图
图片尺寸600x351
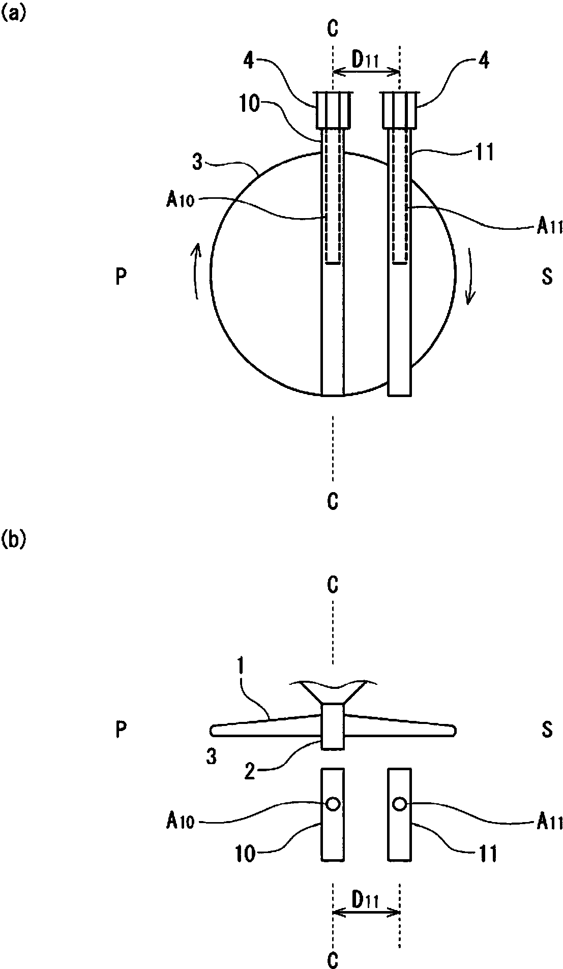
cn109070986a_船舶用舵及船舶
图片尺寸1657x1922
29000吨化学品_成品油轮舵系设计
图片尺寸626x666
舵机实际结构图
图片尺寸640x366
穿心平衡舵.jpg
图片尺寸743x813
舵机是由什么组成_舵机的结构及原理
图片尺寸718x490
nfp系列轴舵系南京高精
图片尺寸550x671
青岛帆船拓展——帆船船舵工作原理
图片尺寸600x570
9船舶舵机控制系统ppt
图片尺寸1080x810
掌舵港澳台
图片尺寸550x368
舵机什么是舵机
图片尺寸793x357
3 船舶 :控制船舶航向的装置.它通常由舵叶,舵轴,舵组成.
图片尺寸480x367
舵系修理
图片尺寸416x235
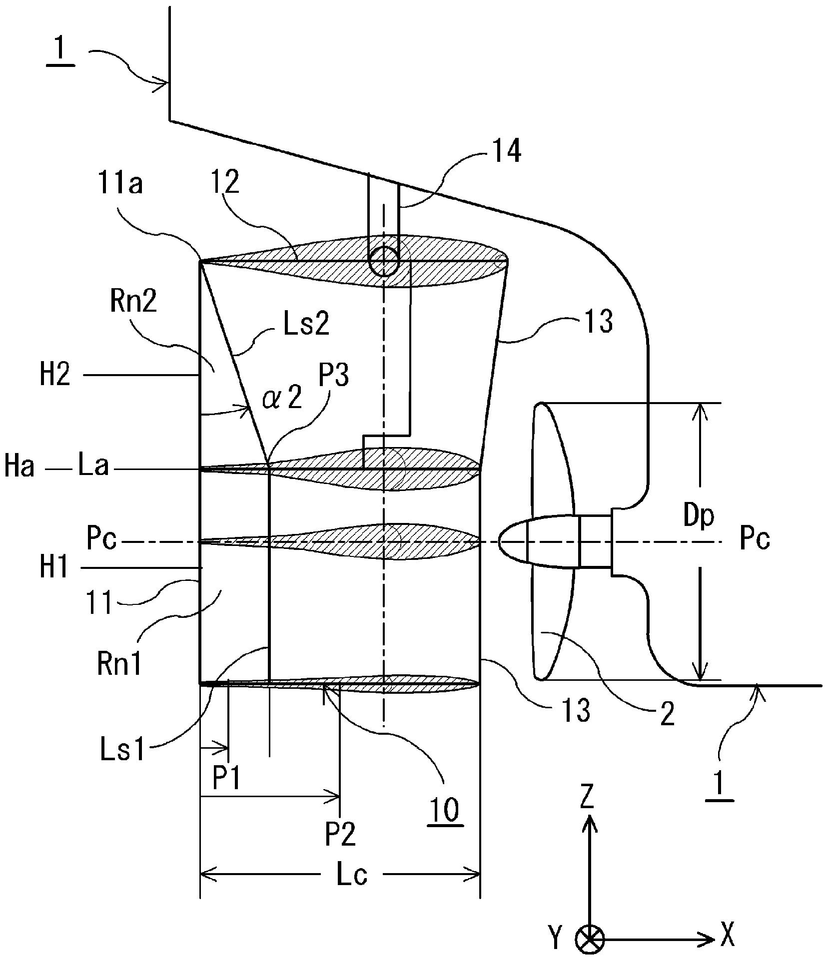
cn107848615a_船舶的舵配置结构在审
图片尺寸1107x1906
舵的工作原理.
图片尺寸1080x810