船舵 结构图

"欹帆侧柁入波涛,撤漩捎濆无险阻":浅析船舵小史
图片尺寸579x557
船舵结构.jpg
图片尺寸490x375
9船舶舵机控制系统ppt
图片尺寸1080x810
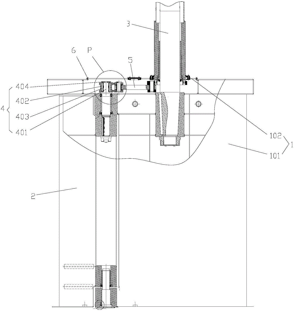
一种便于拆卸的半平衡舵的制作方法
图片尺寸1000x969
船舶设备制造技术
图片尺寸735x1000
船舵体总结构图
图片尺寸512x562
本实用新型公开了一种易拆装组合式船舵,包括舵叶
图片尺寸947x1000
一种海上运输用具有表面防滑结构的舵环的制作方法
图片尺寸358x443
某新型无人帆船的结构设计及翼帆气动性能分析
图片尺寸571x631
cn204846345u_可变式易拆装船舵失效
图片尺寸675x1000
船舶方向舵图纸
图片尺寸695x673
帆船船舵转向如何在海上帆船拓展中应用,又怎样与控
图片尺寸600x570
工程元件部件绝热紧固件装置的制造及其应用技术
图片尺寸784x1000
背景技术:船舵是用来操纵和控制船舶航向的,一般位于
图片尺寸958x1000
船舵自取
图片尺寸1080x1440
船舵
图片尺寸800x800
船航行常用梭型船舵结构
图片尺寸686x497
搜狗问问
图片尺寸600x732
为何不刹车湖南运砂船撞上湘江一桥撞击声好响原因是舵机失控
图片尺寸660x313
手绘船舵
图片尺寸1020x1020