船舶侧推图解

仪表 > 侧推器及其效应第1页 下一页 相关主题 你可能喜欢 船舶侧推器
图片尺寸1080x810
艏侧推就是安装在船舶艏部附近的横向推进器,可以提供垂直于船舶趑汉
图片尺寸720x480
身小力量大,体壮方向灵——小小拖船为何能拖动数万吨巨轮?
图片尺寸720x403
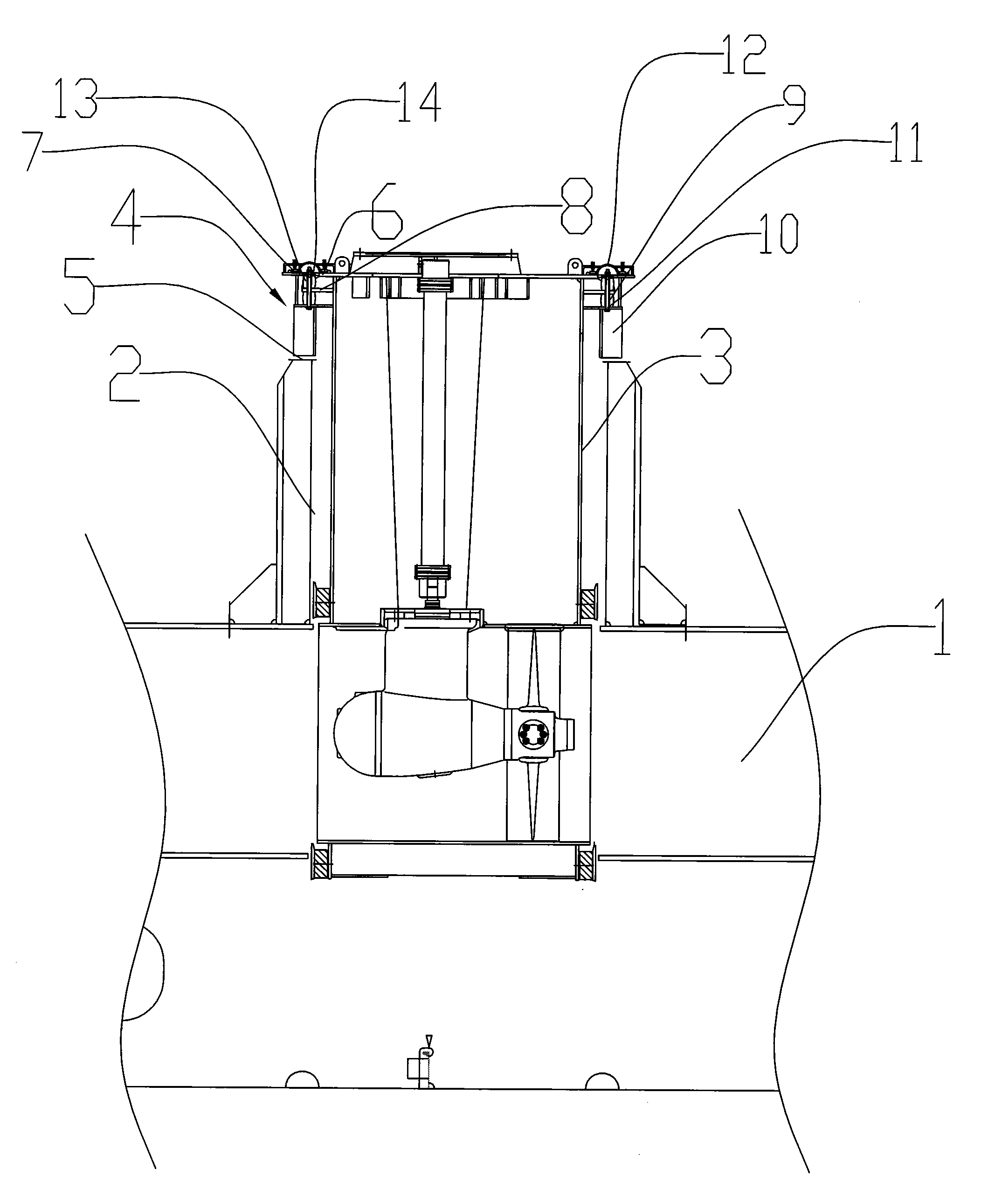
船舶侧推器的安装结构及安装方法
图片尺寸2104x2581
产品中心 其他船舶设备及配件 > 渔船专用液压艏侧推 渔船专用液压
图片尺寸577x875
方位船首侧推器出售 - buy 方位角推力器,船形推
图片尺寸750x600
升降型定距桨侧推装置型谱表 fixed pitch transve
图片尺寸500x330
本发明涉及艏侧推安装领域,更具体地说,是一种精度
图片尺寸874x1000
本实用新型涉及一种船用降噪侧推装置,包括侧推螺旋
图片尺寸519x507
船舶结构课件--第一章 船舶常识(9名尺吨志).ppt
图片尺寸800x600
员的积极性,术水平,动性等等 )公船技流,道路漫长,尤其是营运船舶
图片尺寸1471x2054
船舶操纵08ppt
图片尺寸1080x810
首侧推这样做的见过没有_船舶制造修理_龙de船人
图片尺寸4000x3000
艏侧推就是安装在船舶艏部附近的横向推进器,可以提供垂直于船舶趑汉
图片尺寸720x642
基于空气螺旋桨的船舶侧推装置
图片尺寸1290x1281
01)i 分类 船舶
图片尺寸636x1000
3船舶推进装置ppt
图片尺寸1080x810
如果军舰的驾驶台被一炮轰飞那么全舰就立即无人驾驶了吗
图片尺寸660x444
操纵(第10课)剖析.ppt
图片尺寸960x720
船舶侧推系统
图片尺寸669x437