茶柜架尺寸

移动小茶几家用实木茶台边柜烧水壶一体泡茶桌茶水柜茶具置物架子
图片尺寸1500x2322
不上漆榆木茶水柜尺寸
图片尺寸750x588
茶柜移动茶水柜茶架泡茶台客厅小型家用新中式烧水壶一体茶桌边柜双门
图片尺寸790x671
办公室茶水柜—办公用茶水柜—办公实木用茶水柜尺寸图
图片尺寸560x420
茶叶店中岛柜展示柜中式实木货架展会产品陈列柜原木流水台置物架奢姿
图片尺寸990x865
穆朴移动茶水柜家用小茶台烧水泡茶一体办公室茶边柜
图片尺寸800x800
茶水柜置物多层茶叶罐茶具收纳储物架泡茶桌茶台茶柜新风3层50带门带
图片尺寸1500x2250
实木茶架盘架盆架普洱茶架展示架茶饼支架家居装饰摆件红木生日礼物13
图片尺寸790x459
上海新中式实木茶桌椅功夫茶几茶桌椅子客厅茶桌大板1米8泡茶台桌
图片尺寸748x684
茶柜烧水壶一体可移动茶水柜客厅茶柜架泡茶台新中式烧茶柜置物架
图片尺寸790x746
苏宁放心购茶边柜烧水中式实木新中式可移动茶柜架茶水台茶水柜饮水机
图片尺寸800x800
餐边柜实木储物柜茶水柜酒柜现代新中式厨房客厅碗柜餐
图片尺寸750x540
茶车实木移动竹制茶台茶水柜带轮茶盘 家用电磁炉一
图片尺寸800x800
餐边柜现代简约茶水柜微波炉柜北欧酒柜实木多功能厨房置物组合柜
图片尺寸790x841
新中式小茶柜实木茶桌边柜侧柜烧茶柜一体泡茶台茶水台烧水壶储茶
图片尺寸750x1050
捷陆龙茶台家用小茶桌木实木移动茶车茶几抽屉电陶炉架子水吧茶水柜
图片尺寸790x1157
茶车家用移动茶水柜家用茶边柜小茶柜烧水泡茶桌套装水桶茶叶茶具收纳
图片尺寸790x1031
雪鹏轻奢极简岩板餐边柜酒柜餐厅冰箱一体高柜子组合储
图片尺寸790x720
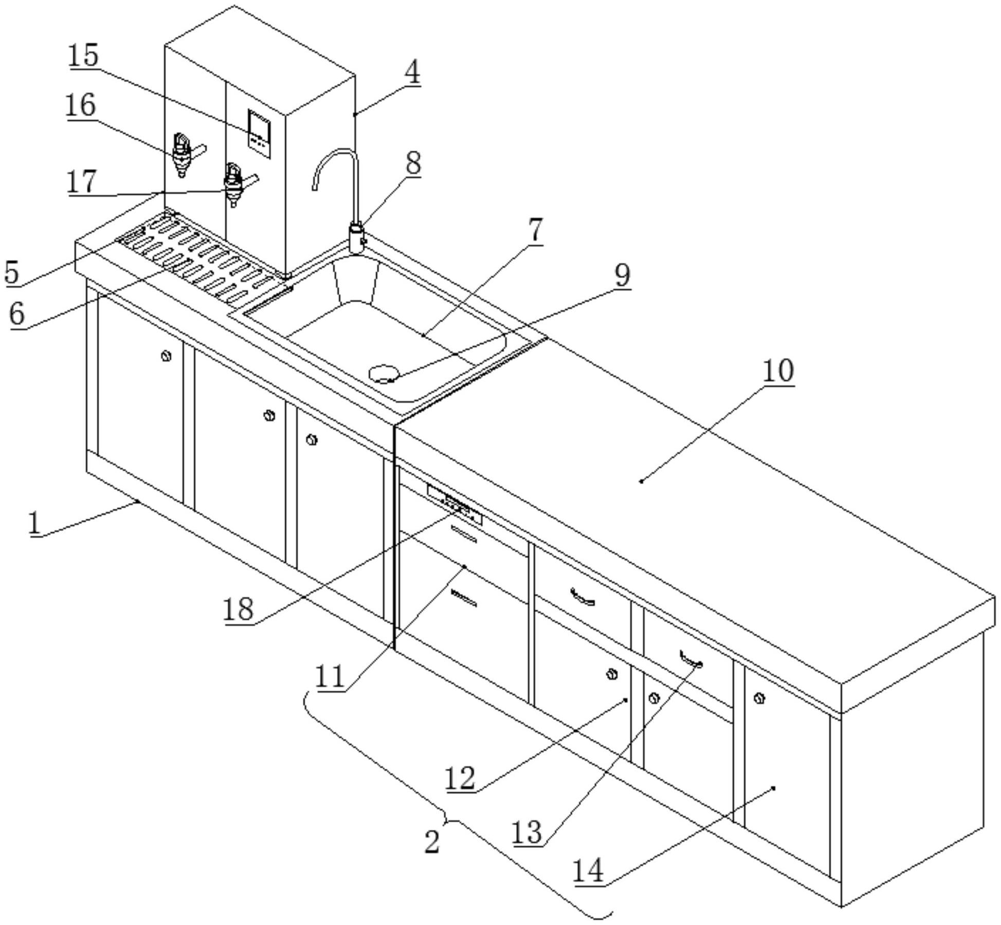
多功能茶水柜
图片尺寸1947x1800
移动茶桌家用泡茶车实木小茶几茶台茶具套装烧水壶一体茶水柜架子视频
图片尺寸800x800