药柜简笔画

一种中药柜的制作方法
图片尺寸971x1000
医药工具箱的简笔画教程,涂上颜色后看着温暖了许多,超有意思-母婴
图片尺寸658x370
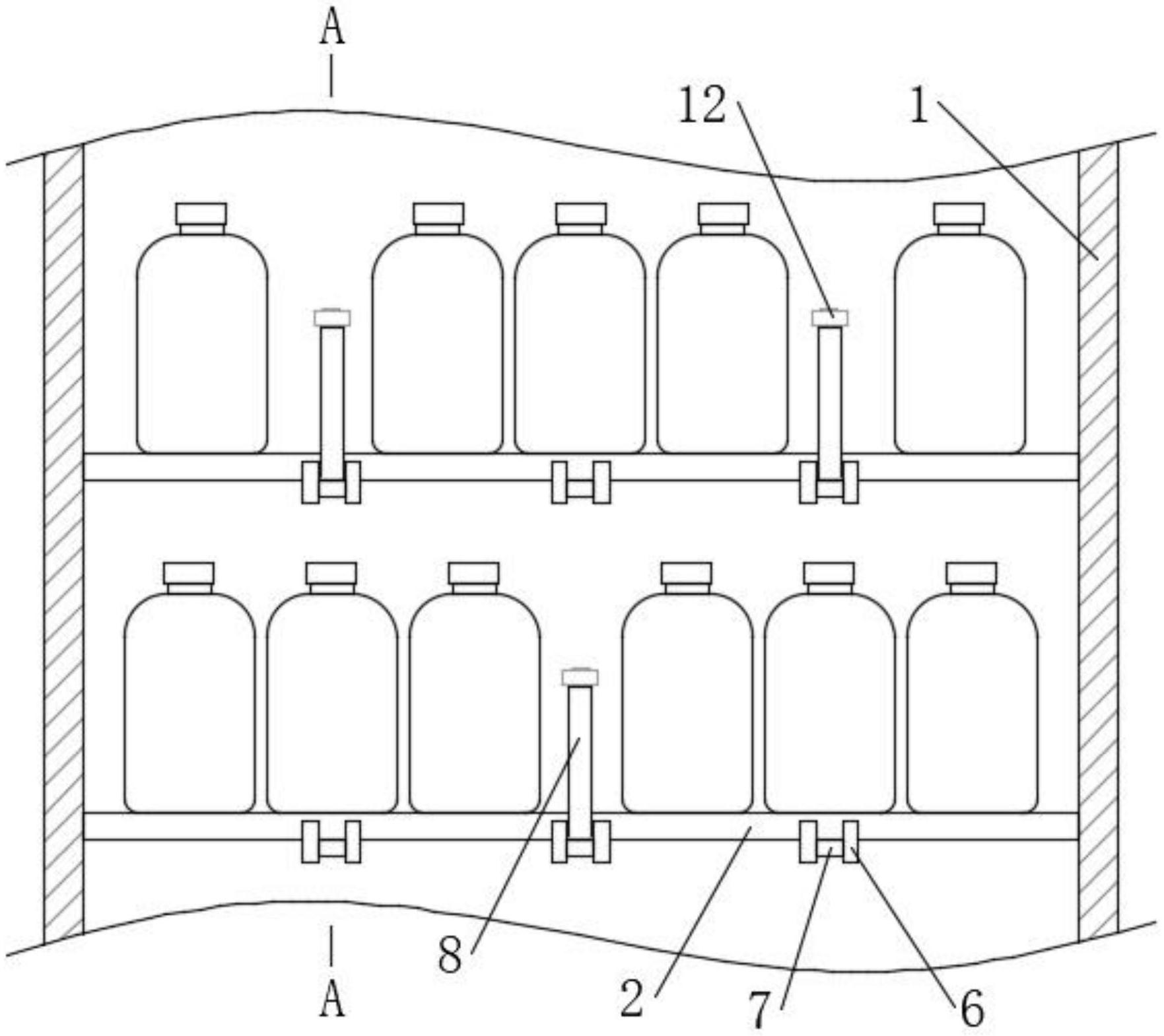
一种方便分类的生物实验室用储药柜
图片尺寸1763x1569
孤立的药柜
图片尺寸1170x1100
药品柜
图片尺寸256x256
医药冷藏存放柜
图片尺寸1532x1181
孤立的药柜
图片尺寸1175x1100
家具门窗制品及其配附件制造技术
图片尺寸342x443
柜子的动漫妹子简笔画
图片尺寸500x523
实用新型一种恒温中药存储智能药柜授权我要购买申请号:cn
图片尺寸400x359
一种庆大霉素单抗用智能药柜的制作方法
图片尺寸443x298
一种药学用药品防潮储存柜,包括药柜外壳(1),柜门(2),存储格(4),温
图片尺寸801x1000
cn201371158y_实验室药品,试剂柜失效
图片尺寸800x1438
药柜
图片尺寸250x250
商标logo
图片尺寸882x1415
背景技术:目前在医院或者药店里工作的药剂师,一般利用药柜,药箱等
图片尺寸1000x564
cn2258722y_防潮防蚀防霉变组合抽屉式中药橱失效
图片尺寸1152x1152
一种医院审计用药品存取柜
图片尺寸624x1000
药柜是一种用于存放药品的医疗器具,可以使药品有顺序的进行排列收纳
图片尺寸512x386
医用药柜
图片尺寸1456x1181