莱德臣芝士粉

辛尼意大利进口奶酪芝士formaggiocheese披萨拉丝意面起芝士新
图片尺寸800x800
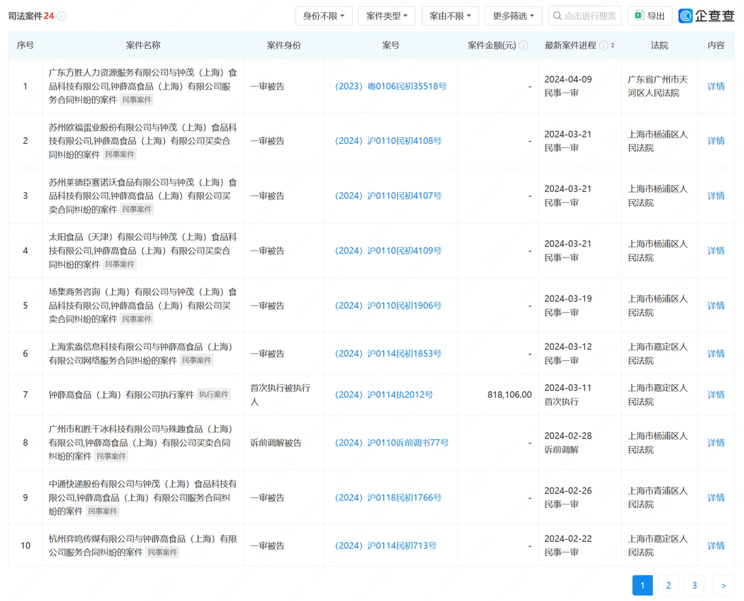
钟薛高及其法人林盛被限消公司已是多起司法案件被告
图片尺寸1080x873
钟薛高及其创始人林盛被限消涉多起司法案件
图片尺寸1080x761
钟薛高及其创始人林盛被限消,公司涉多起司法案件_新浪财经_新浪网
图片尺寸1080x761
钟薛高及其创始人林盛被限消公司涉多起司法案件
图片尺寸600x422
钟薛高及其创始人林盛被限消公司涉多起司法案件
图片尺寸600x422
代理优势上海厚宽食品有限公司主要代理ballenty(百仑泰)芝粉士粉系列
图片尺寸730x378