萎凋房设计图

一种温湿度均衡的茶叶萎凋房-爱企查
图片尺寸2157x1796
一种茶叶萎凋房的制作方法
图片尺寸986x1000
一种白茶萎凋室的制作方法
图片尺寸867x1000
一种茶叶萎凋室的制作方法
图片尺寸1000x909
一种温湿度均衡的茶叶萎凋房的制作方法
图片尺寸1000x834
一种温湿调节均衡的白茶萎凋房的制作方法
图片尺寸920x1000
cn204232181u_一种茶叶萎凋房有效
图片尺寸1000x510
一种萎凋机的制作方法
图片尺寸1000x980
一种全天候阳光萎凋装置的制作方法
图片尺寸1000x901
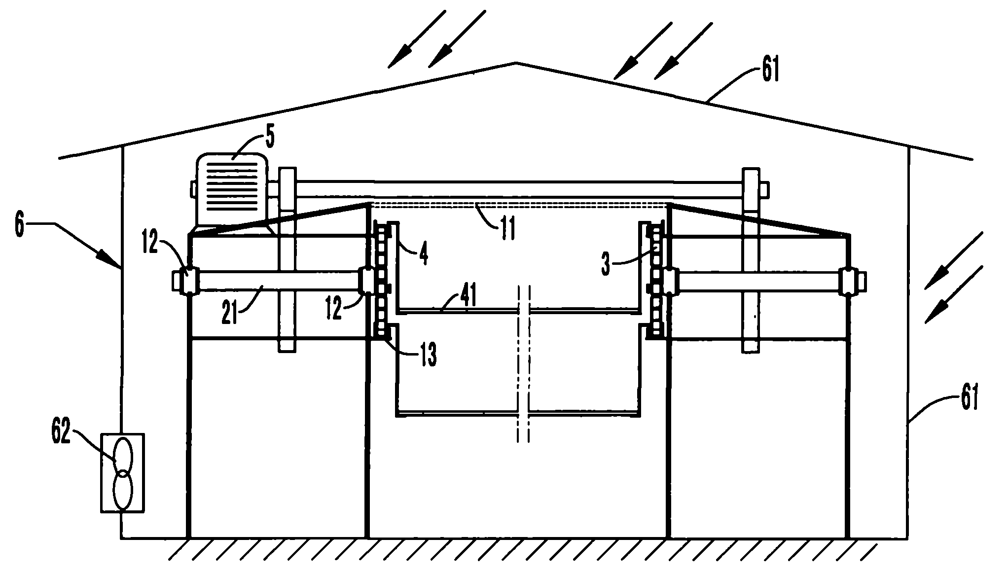
萎凋房匀风机构的制作方法
图片尺寸1000x896
取景几张做好的信阳白茶日晒萎凋房
图片尺寸1080x1440
一种多功能茶叶萎凋设备的制作方法
图片尺寸1000x794
一种茶叶冷冻萎凋机的制作方法
图片尺寸1000x929
一种茶叶加工用的萎凋装置的制作方法
图片尺寸941x1000
一种可快速萎凋的茶叶摊青用萎凋槽的制作方法
图片尺寸444x325
cn206324125u_一种多层萎凋架结构及具有其的萎凋室有效
图片尺寸562x289
自动化茶叶萎凋房
图片尺寸2044x1164
传统日光萎凋,时常受到天气变化,人力不足,场地限制等不利因素影响
图片尺寸640x1332
春茶季|说福鼎白茶加工简单的人,一定不了解萎凋
图片尺寸1080x810
一种茶叶萎凋摊放传送架的制作方法
图片尺寸1000x885