落地灯平面图

伽罗jalo 黄铜复古落地灯
图片尺寸730x1018
一种带置物架的落地灯-爱企查
图片尺寸679x1355
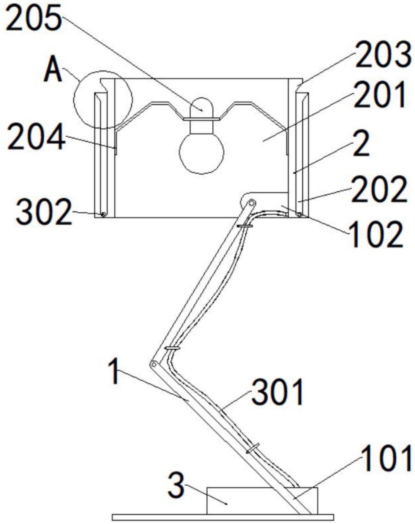
一种拼接式落地灯-爱企查
图片尺寸744x800
背景技术:落地灯外形美观,光线柔和,深受现代家装行业的喜爱.
图片尺寸589x1000
led地埋灯户外led埋地灯 户外亮化景观照明工程埋地灯
图片尺寸750x1177
coupole&alfa落地灯
图片尺寸640x640
创意假日装饰现代简约个性卧室脚步落地灯创意床头温暖立场高台灯 d
图片尺寸790x969
背景技术:落地灯常用作局部照明,不讲全面性,而强调移动的便利,对于
图片尺寸1000x817
施韵令灯个性客厅沙发旁设计师立式现代简约大理石落地灯 拉丝圆管
图片尺寸800x800
超薄型人感光感落地灯——2018神灯奖申报产品
图片尺寸470x709
一种可调节光圈的便于更换灯头的落地灯的制作方法
图片尺寸510x1000
酒店客房样板房床头台灯落地灯 非标工程定制摇臂落地台灯
图片尺寸750x664
一种具有自主散热功能的led落地灯的制作方法
图片尺寸520x1000
一种可以调节湿度的智能落地灯-爱企查
图片尺寸1397x1764
一种落地灯的制作方法
图片尺寸659x737
moooi fringe 5 floor lamp 复制版现代布艺落地灯
图片尺寸523x551
户外露台民宿庭院灯别墅园林灯日式禅意花园落地灯c3094k款25cm接电款
图片尺寸790x1202
酒店客房样板房床头台灯落地灯 非标工程定制摇臂落地台灯
图片尺寸750x950
意大利 slamp girafiore系列烟熏色花瓣造型360°全方位照明落地灯
图片尺寸840x553
一种led落地灯
图片尺寸357x444