蒸发浓缩装置

减压浓缩器(真空浓缩罐/釜式蒸发器/球形浓缩器)是一种小型蒸发装置
图片尺寸960x1280
浓缩蒸发_蒸发浓缩器_疏水膜蒸发浓缩模块
图片尺寸900x900
热销 浓缩萃取提纯结晶蒸发 实验室旋转蒸发器 r503b浓缩蒸发器
图片尺寸800x800
浓缩蒸发器薄膜蒸发器 外循环蒸发器 杭州报价
图片尺寸1440x1080
旋转蒸发蒸发器.re-201d2l3l5l浓缩减压蒸馏提纯结晶化工管道及配件
图片尺寸697x881
四效72片碱蒸发浓缩装置
图片尺寸800x535
浓缩结晶蒸发器薄膜蒸馏蒸发器刮板薄膜蒸发器厂家回收
图片尺寸1440x1080
蒸发装置在操作过程中,要消耗大量加热蒸汽,为节省加热蒸汽,可采用多
图片尺寸1024x1024
降膜蒸发器厂家木糖醇蒸发器葡萄糖蒸发器果汁浓缩器牛奶浓缩
图片尺寸600x600
mvr蒸发器 工业结晶浓缩 中孚成远环保科技
图片尺寸310x290
一种放射性水样蒸发浓缩装置及方法与流程
图片尺寸1000x597
疏水膜蒸发浓缩模块_实验室蒸发浓缩仪器_蒸发浓缩仪器有哪些
图片尺寸750x1219
图文解读蒸发浓缩设备详细结构
图片尺寸459x515
多效板式蒸发器 浓缩升膜蒸发系统 多效板式蒸发浓缩装置定制
图片尺寸750x750
r系列小型旋转蒸发器龙煤实验室减压蒸馏萃取浓缩旋转蒸发仪蒸发器
图片尺寸750x750
re-5299旋转蒸发器 浓缩分离蒸发提取仪
图片尺寸600x600
厂家直销 5l升旋转蒸发仪器 蒸馏器 浓缩仪 旋蒸设备 品质保证
图片尺寸1280x1920
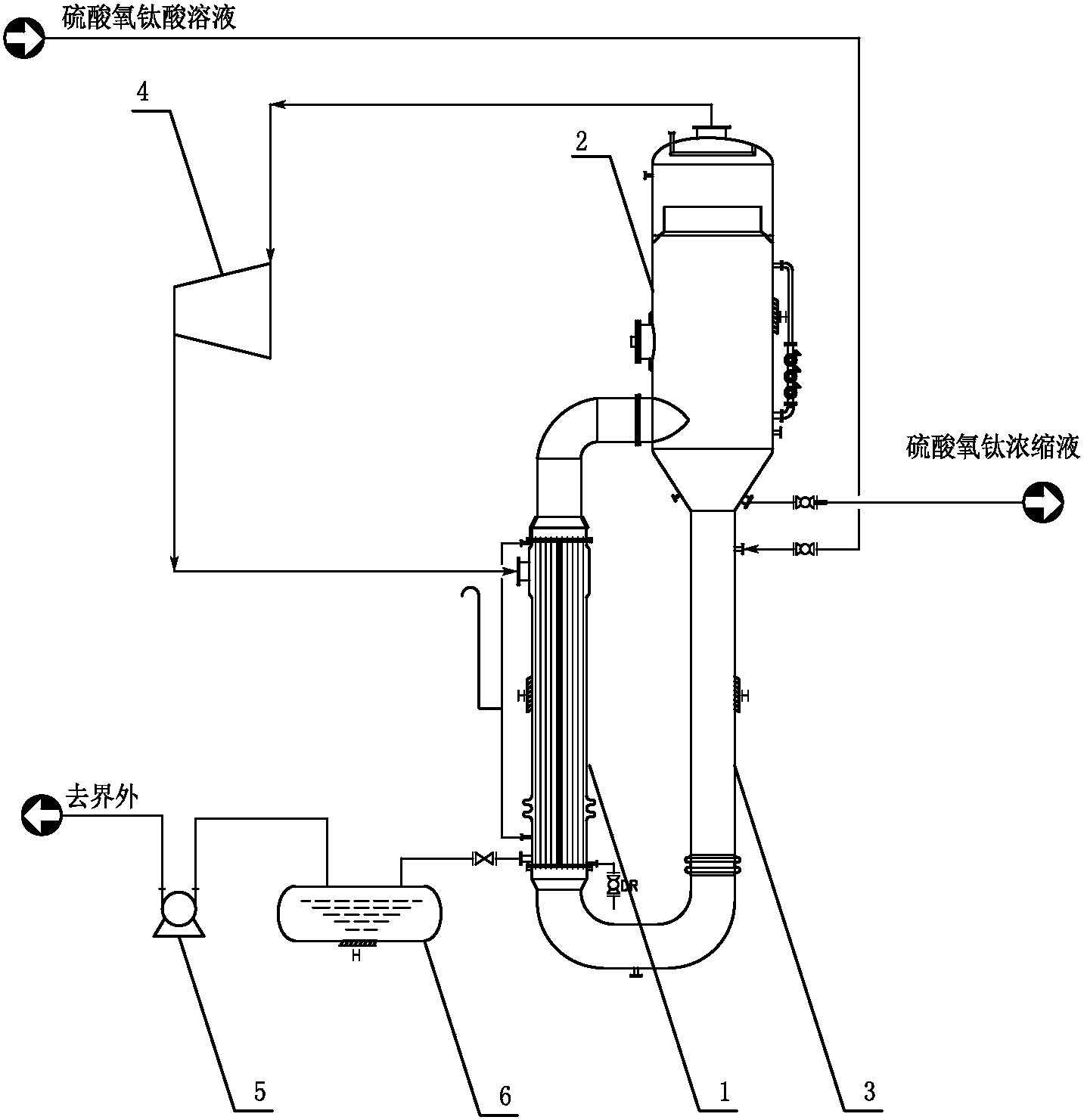
硫酸氧钛溶液超低温蒸发浓缩装置
图片尺寸1433x1481
装置 上海和杰科技有限公司 > n-1001d型旋蒸旋转蒸发仪旋转真空浓缩
图片尺寸800x600
m3曼氏 玻璃cbd短程分子蒸馏设备降膜蒸发器精油蒸馏浓缩提取装置
图片尺寸575x679