蒸发皿简图

平圆底蒸发皿
图片尺寸306x184
我二哥 非玻璃仪器 蒸发皿 (托盘)天平 托盘) 坩埚 泥三 角 坩埚钳
图片尺寸1080x810
蒸发皿图标
图片尺寸512x512
蒸发皿可以直接加热吗使用蒸发皿的注意事项有哪些
图片尺寸176x249
一种实验教学用陶瓷蒸发皿的制作方法
图片尺寸410x443
解析:选d 容量瓶不能用来加热,试管和蒸发皿可以用酒精灯直接加热,而
图片尺寸614x218
一种防风型蒸发皿
图片尺寸1023x1108
一种硫化钠加工用蒸发皿的制作方法
图片尺寸667x653
一种硫化钠加工用蒸发皿的制作方法
图片尺寸593x398
蒸发皿简笔画
图片尺寸499x268
蒸发皿的简笔画
图片尺寸515x187
(3)外流板式降膜蒸发器 结构简图如图3-10,它由加热元件,液体分布器
图片尺寸456x616
化学蒸发皿简笔画
图片尺寸666x500
一种双效蒸发器
图片尺寸800x596
一种薄膜蒸发器
图片尺寸280x324
一种三效浓缩蒸发器
图片尺寸1000x888
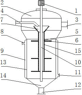
真空薄膜蒸发器
图片尺寸1615x2068
蒸发器
图片尺寸926x1000
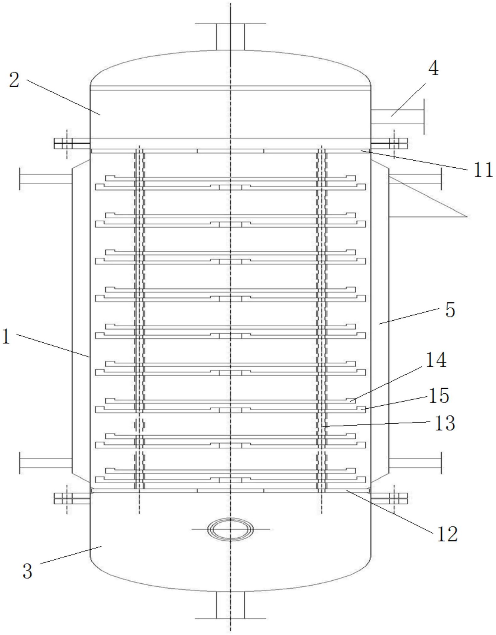
cn213569599u_一种低温真空蒸发器有效
图片尺寸1212x1439
一种环保型真空蒸发器的制作方法
图片尺寸1000x987