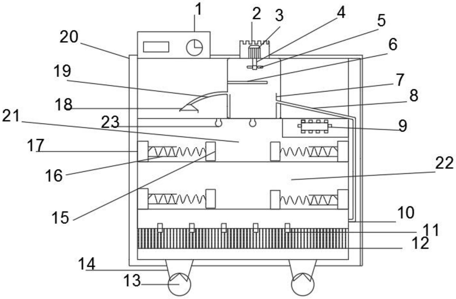
蒸饭车结构图

一种不锈钢燃气蒸饭车的制作方法
图片尺寸925x1000
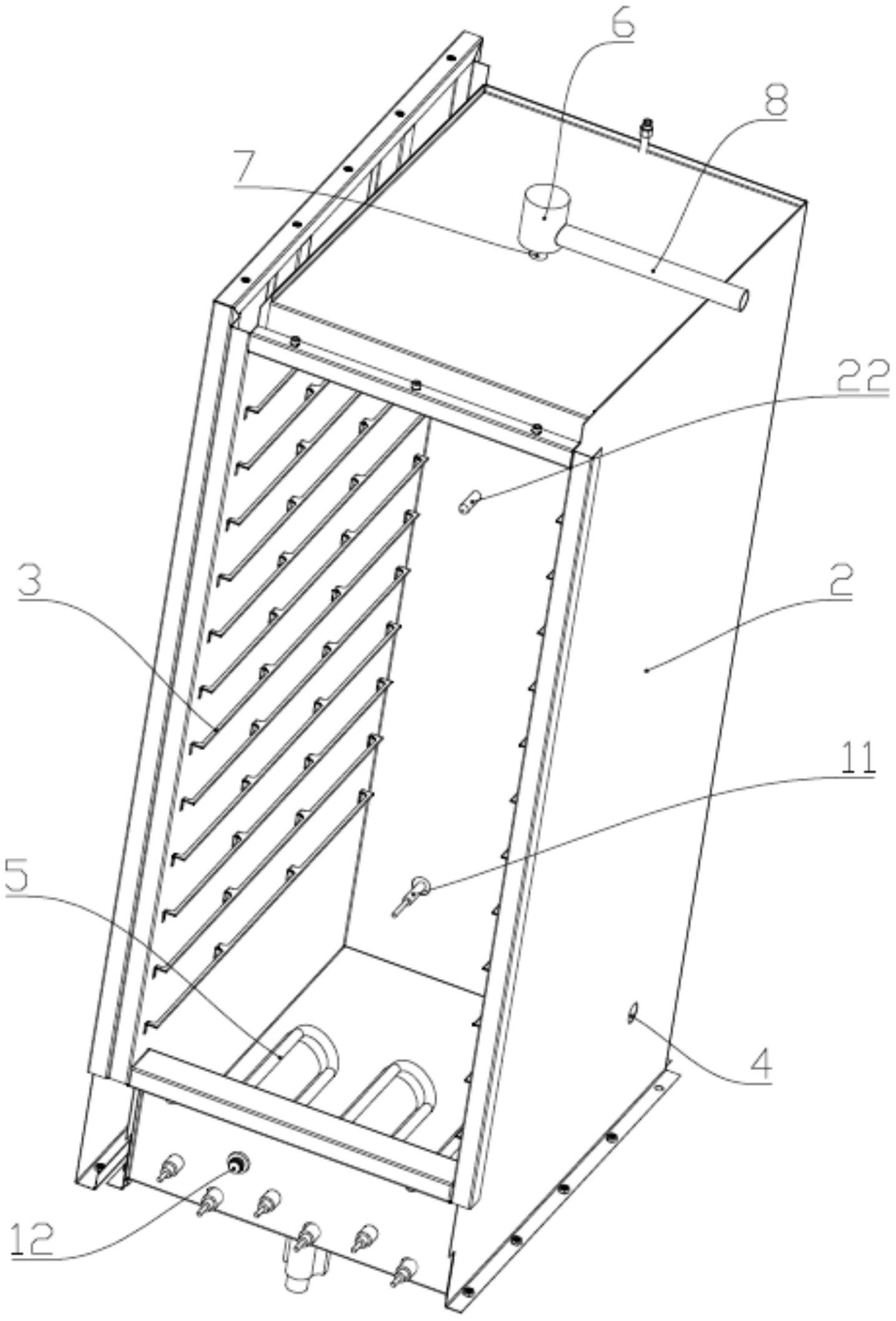
蒸饭车蒸箱结构示意图
图片尺寸382x450
一种节能保温双门蒸饭车-爱企查
图片尺寸1831x1200
一种新型蒸饭车
图片尺寸1436x2117
一种蒸饭车制造技术
图片尺寸1000x858
一种用于实现快速加热的单门蒸饭车的制作方法
图片尺寸1000x788
蒸车蒸饭
图片尺寸600x489
厂长解读:大型蒸饭柜食堂厨房24盘蒸箱
图片尺寸640x376
包括安装基座,所述安装基座上通过支撑结构安装有蒸饭床本体,所述安装
图片尺寸800x743
大容量蒸饭柜 商用双开门电蒸箱蒸饭车燃气双门馒头机全自动24盘36盘
图片尺寸800x800
酿酒设备蒸馏蒸煮粮食酿酒摊粮晾床蒸饭床大型酒坊蒸汽酿酒机160斤
图片尺寸750x936
乐创(lecon)商用蒸饭柜蒸饭车蒸饭机蒸饭箱电热燃气全发泡电蒸箱 6盘
图片尺寸750x949
义乌维修集成灶蒸饭柜蒸箱 保质内免费 维修煤气灶具抽烟机
图片尺寸1920x1079
义乌维修集成灶蒸饭柜蒸箱 保质内免费 维修煤气灶具抽烟机
图片尺寸1920x3414
开孔式蒸柜拉手塑料把手
图片尺寸650x853
一种不锈钢电磁双门蒸饭柜-爱企查
图片尺寸967x1142
古法蒸饭机的球形内胆结构-爱企查
图片尺寸1580x1469
一种高效节能型蒸饭柜
图片尺寸1589x1524
蒸饭柜商用蒸饭车肠粉电蒸箱馒头饺子节能燃气12层商用蒸炉
图片尺寸784x792
济南世纪华厨厨房设备有限公司 型号 hc-z-2 类型 豪华型蒸饭柜 结构
图片尺寸800x800