蛋托简笔画

鸡蛋盒简笔画儿童画画
图片尺寸900x600
手托鸡蛋的简笔画
图片尺寸750x500
简单的鸡蛋托简笔画图片
图片尺寸900x600
商标logo
图片尺寸1792x1162
鸡蛋篮子简笔画教程
图片尺寸1500x1000
商标logo
图片尺寸1472x511
一种单体蛋托的制作方法
图片尺寸1000x873
鸡蛋托画简笔画
图片尺寸500x667
鸡蛋托(船型6枚)
图片尺寸896x828
鸡蛋托(船型6枚)
图片尺寸940x424
蛋壳托盒图片-蛋壳托盒素材-蛋壳托盒插画-摄图新视界
图片尺寸395x300
一种蛋托
图片尺寸542x535
包装储藏运输设备的制造及其应用技术
图片尺寸463x525
食品饮料机械设备的制造及其制品加工制作储藏技术
图片尺寸1000x757
本实用新型涉及一种新型蛋托,其包括:阵列排布并用于
图片尺寸1000x855
各种小昆虫,是不是就差能飞起来了~鸡蛋托昆虫是不是既简单又漂亮呢?
图片尺寸600x280
本实用新型属于蛋托包装技术领域,具体涉及一种纵横定
图片尺寸1000x893
一种新型36蛋托装置的制作方法
图片尺寸443x407
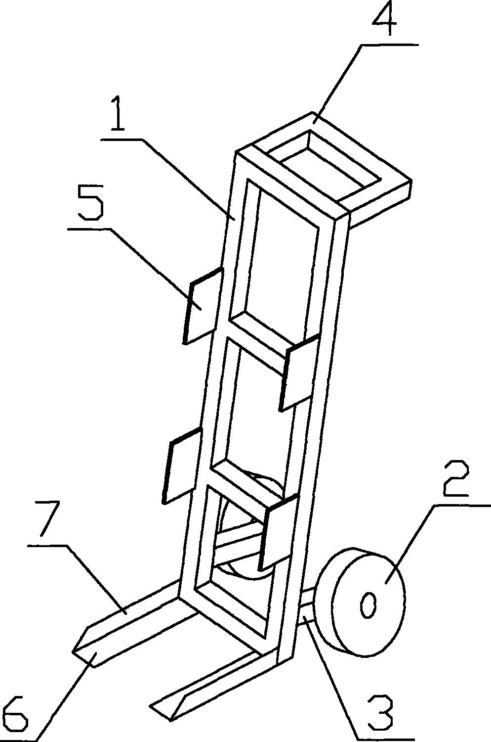
摘要附图摘要一种蛋托运输小推车,包括车架,车轮,支
图片尺寸994x1500
一种蛋托的制作方法
图片尺寸542x535