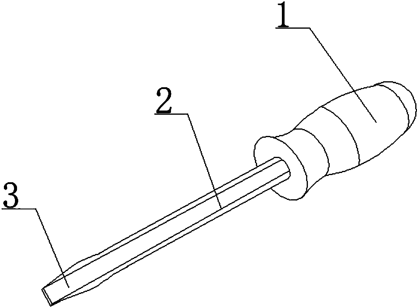
螺丝刀结构

一种带自锁结构的手自一体电动螺丝刀
图片尺寸1770x1504
左轮螺丝刀
图片尺寸3780x2126
螺丝刀批头与外壳的配合处为棘齿配合结构,螺丝刀批头与外壳之间
图片尺寸1422x2420
日本tohnichi东日脱跳式扭力螺丝刀
图片尺寸790x455
螺丝刀1
图片尺寸800x550
日本东日tohnichi手动式扭力螺丝刀ltd15cn非空转式
图片尺寸1000x644
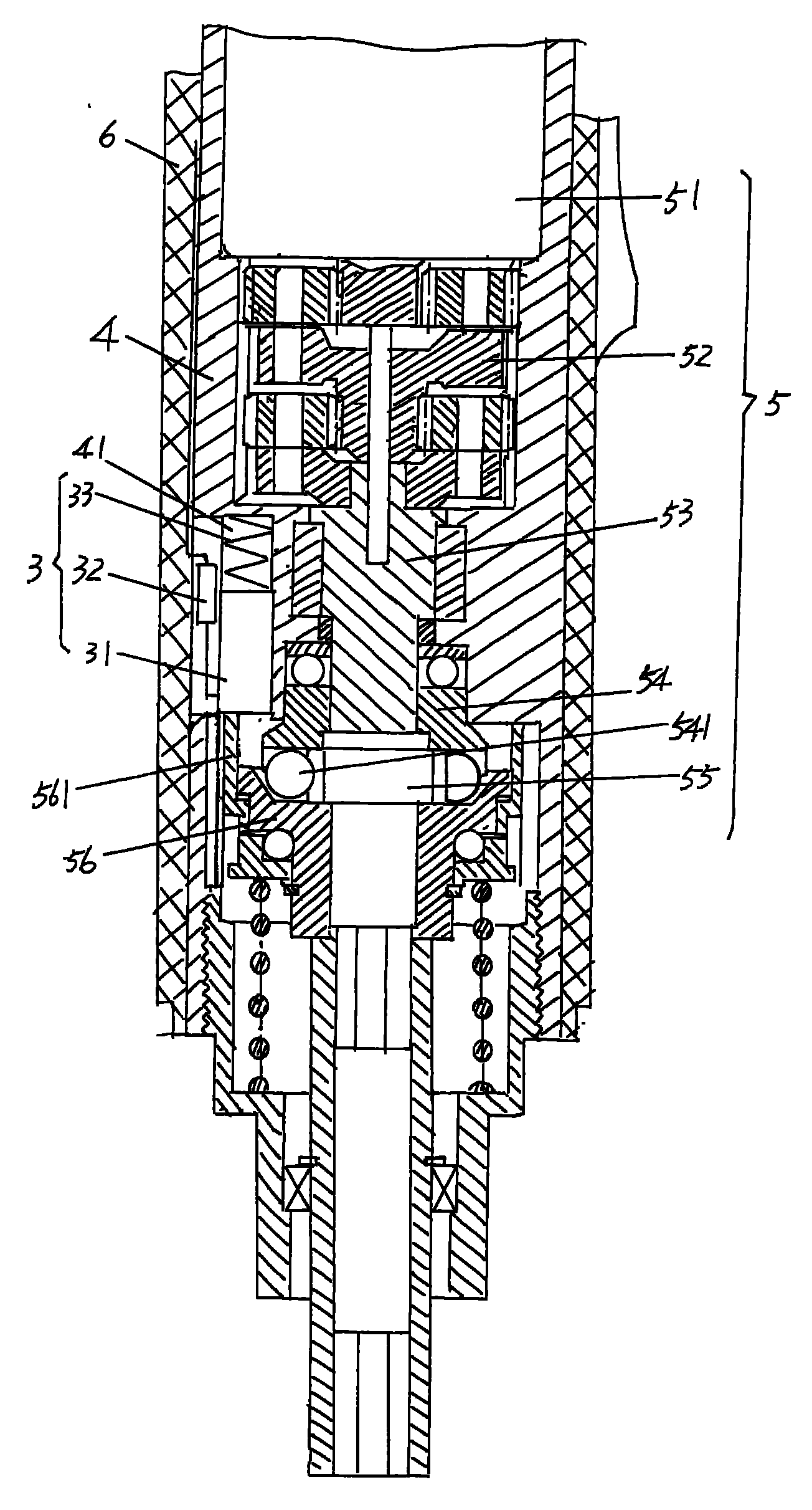
一种无触点电磁感应制动的电动螺丝刀结构
图片尺寸1304x2423
背景技术:目前大部分螺丝刀的刀头均采用以单用制作,在复杂结构组成的
图片尺寸1000x599
一种磁性可控的螺丝刀
图片尺寸879x1596
kls820半自动螺丝刀电动螺丝刀扭力螺丝刀
图片尺寸1024x415
五合一螺丝刀批 5合1多功能拆机工具套装维修小螺丝刀手机配件
图片尺寸750x567
cn1849200a_具有限制传递扭矩的可调装置的螺丝刀有效
图片尺寸2365x1508
电动螺丝刀
图片尺寸1000x599
cn207824768u_一种多功能手机组装用螺丝刀失效
图片尺寸1395x1031
cn203712586u_手持式电动螺丝刀失效
图片尺寸1000x874
防滑螺丝刀的制作方法
图片尺寸1000x869
cn2214274y_多功能螺丝刀失效
图片尺寸2475x1068
一种能快速充电的电动螺丝刀-爱企查
图片尺寸1598x1818
海宝仪器预置式扭矩起子hnf 便携式扭力计 螺丝起子 螺丝刀
图片尺寸760x386
日本达威delvo电动螺丝刀dlv8120ejc
图片尺寸496x637