螺丝机结构

宏科自动锁螺丝机结构图原理图讲解!
图片尺寸760x473
一种自动打螺丝机结构的制作方法
图片尺寸884x1000
单头双工位螺丝机
图片尺寸678x644
宏科自动锁螺丝机结构图原理图讲解!
图片尺寸591x402
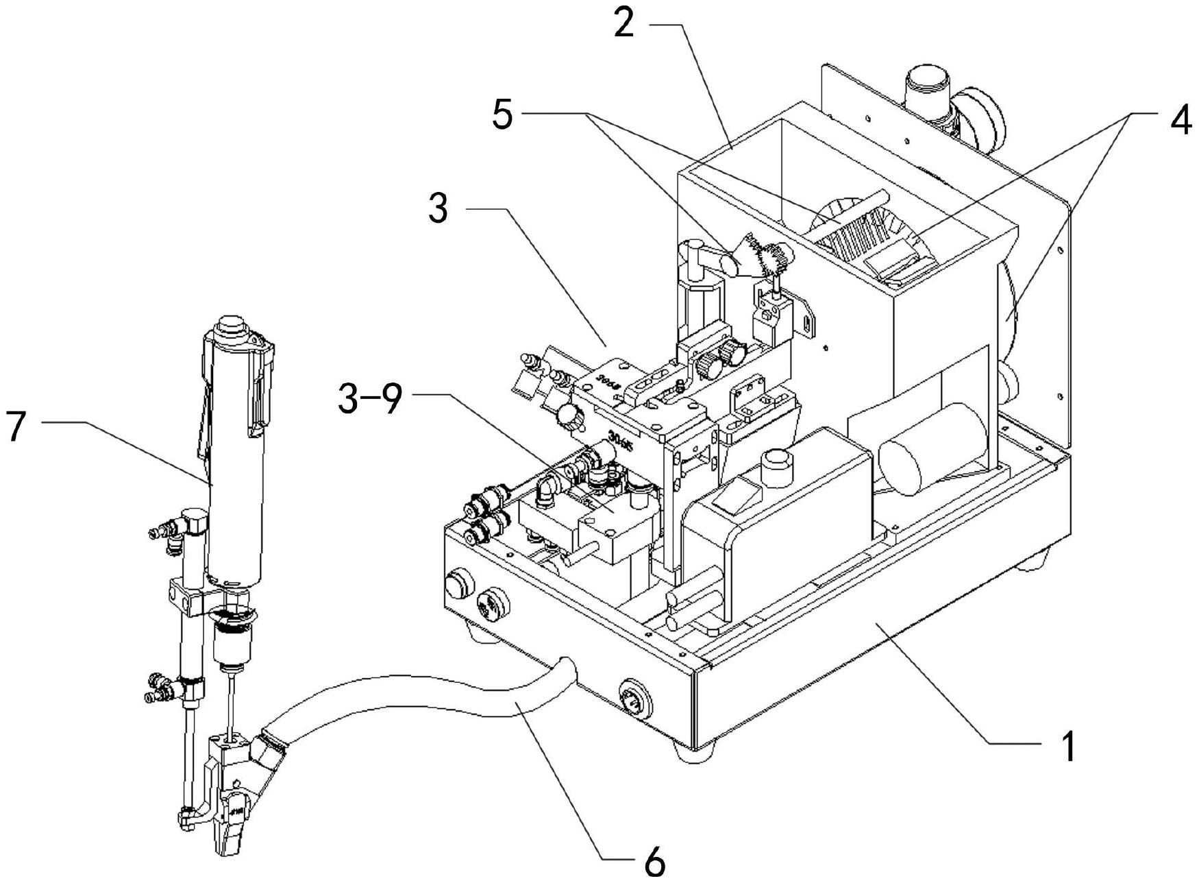
一种多功能自动锁紧螺丝机
图片尺寸1726x1903
自动锁螺丝机外形结构图
图片尺寸389x460
手握式自动锁螺丝机有哪些部分结构组成?
图片尺寸1024x533
图片浏览
图片尺寸407x318
一种多功能自动锁螺丝机的制作方法
图片尺寸1000x945
一种手持式吹气送料螺丝机
图片尺寸1750x1288
收藏你想知道的叠螺机知识都在这里了
图片尺寸954x534
单螺杆挤出机结构及主要零部件
图片尺寸1155x1185
吸气式自动锁螺丝机结构图
图片尺寸747x528
螺丝机是一种自动化锁螺丝的小型机械,一般结构采用模组型结构,应用较
图片尺寸444x423
吸气式自动锁螺丝机的制作方法
图片尺寸539x1000
自动锁螺丝机给企业带来的价值有哪些?
图片尺寸719x558
图片浏览
图片尺寸443x533
自动拧螺丝机图纸
图片尺寸820x691
滚筒式螺丝机整体结构图
图片尺寸492x717
螺丝机是一种自动化锁螺丝的小型机械,其动作结构一般可分为供料部分
图片尺寸390x444