螺杆怎么画

螺杆(一)-爱企查
图片尺寸995x1713
一种汽车配件的连接螺杆-爱企查
图片尺寸1307x1168
螺杆图标
图片尺寸512x512
黑色和白色卡通螺杆插画-正版商用图片0dlqxi-摄图新视界
图片尺寸700x700
螺栓画法.谁给我个图?
图片尺寸500x338
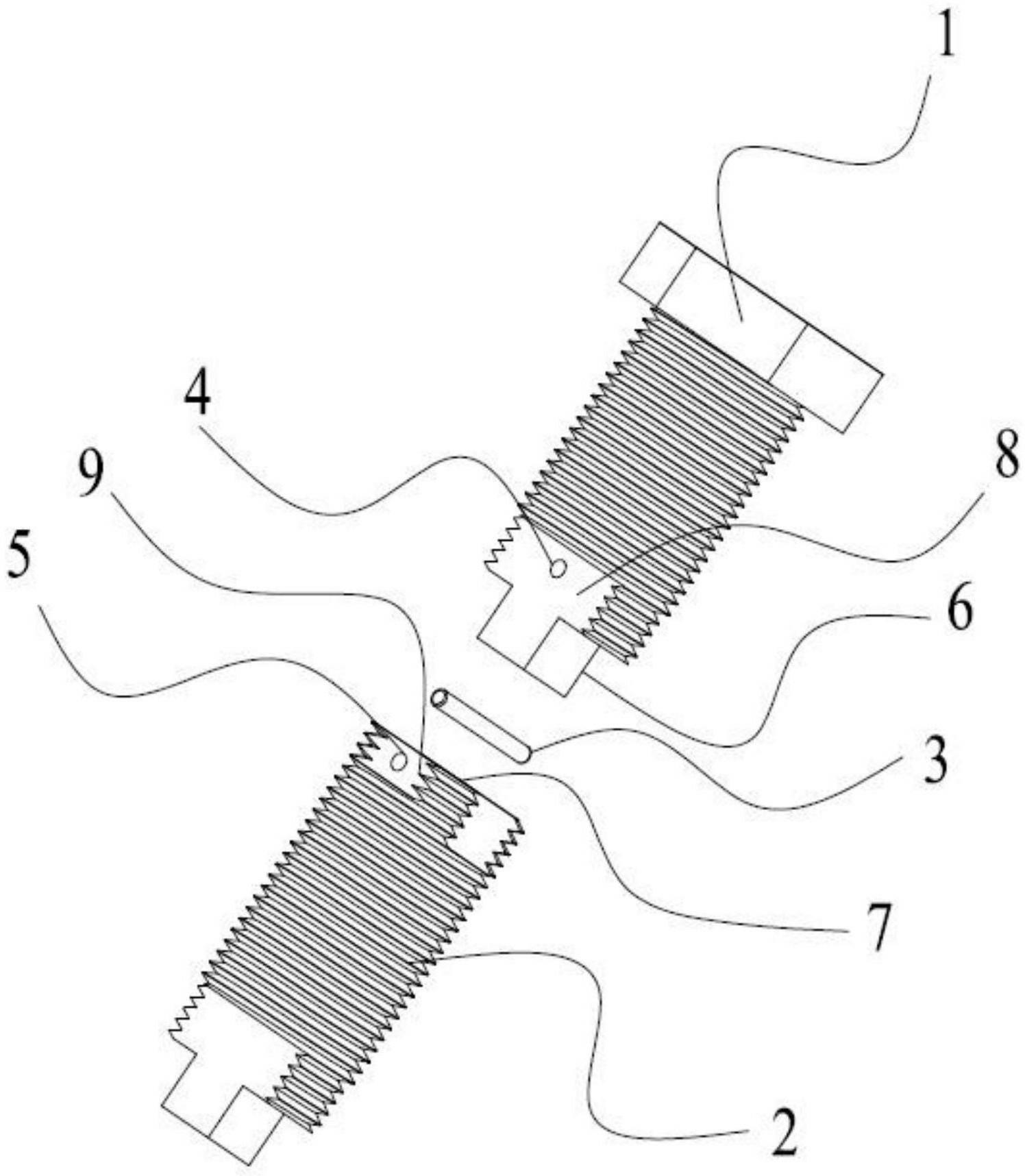
一种联接螺杆-爱企查
图片尺寸1496x1716
螺杆图标
图片尺寸512x512
螺杆
图片尺寸1200x1099
修眼镜时我可以只买眼镜的螺丝吗?修理它需要多少钱?
图片尺寸759x569
螺杆图标
图片尺寸512x512
机械制图(大连理工大学第五版)习题集第六章答案ppt
图片尺寸1080x810
一种挤出机螺杆-爱企查
图片尺寸999x1060
卡通涂鸦螺杆矢量插图插画-正版商用图片08jk43-摄图新视界
图片尺寸700x700
驻车行程调节螺杆-爱企查
图片尺寸1105x1324
代替 gb28-76 六角头螺杆带孔铰制孔用螺栓 hexagon fit bolts with
图片尺寸1084x451
a3-螺杆.dwg
图片尺寸1200x800
cad轴测图画螺杆视频教程
图片尺寸880x495
一种注塑机螺杆及其制作方法-爱企查
图片尺寸382x237
滚珠螺杆的制作方法
图片尺寸680x1000
螺杆cad平面设计图素材
图片尺寸1024x1780