表冷器原理

表冷器是给制冷机散热的,把热量排到室外,它把压缩机压缩排出高温高压
图片尺寸640x504
一种防冻型表冷器的制作方法
图片尺寸560x482
表面冷却器热工性能实验
图片尺寸1014x630
百年制冷
图片尺寸1500x839
汽车发动机冷却系统的工作原理
图片尺寸1002x923
制冷与低温原理 课程_制冷与低温原理 下载_低温冷水机原理
图片尺寸650x475
压缩机至冷凝器的排气管无须隔热,冷凝器一般无明显压降,但制冷剂
图片尺寸1339x969
冷凝器的工作原理是怎么样的
图片尺寸860x415
一种小流量大温差表冷器-爱企查
图片尺寸1585x1513
一种组合式空调机组表冷器
图片尺寸360x360
一种表冷器的制作方法
图片尺寸886x1000
一种表冷器
图片尺寸1000x749
图 2 稀释制冷机原理图, 箭头方向表示3he流动方向
fig. 2.
图片尺寸1575x1703
一种吹胀换热管式表冷器制造技术
图片尺寸917x919
cn209319154u_一种便于安装的表冷器有效
图片尺寸770x1000
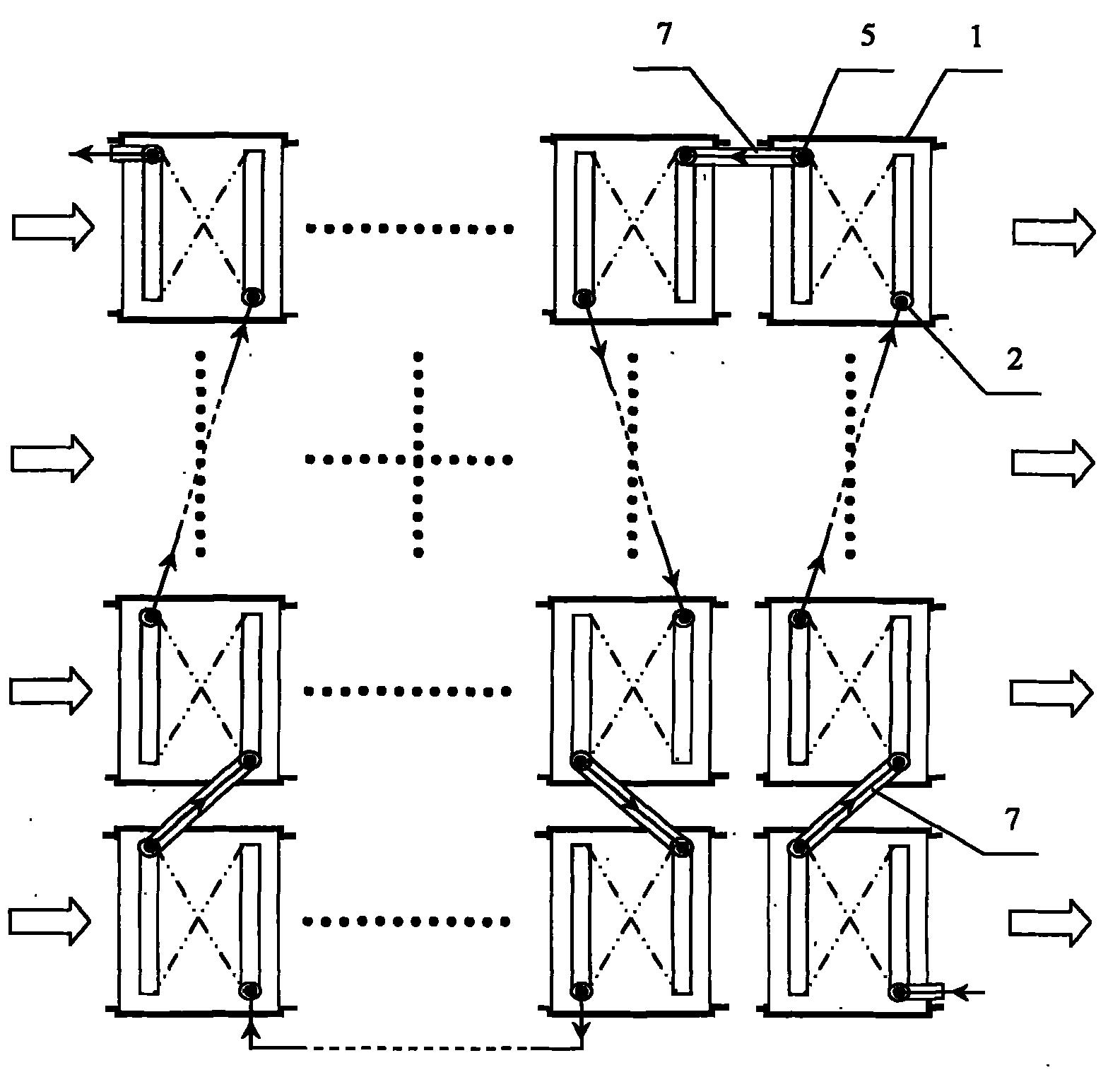
一种表冷器防冻系统装置的制作方法
图片尺寸1000x976
冷凝器的工作原理介绍
图片尺寸533x300
一种表冷器的制作方法
图片尺寸1000x753
表冷器 蒸发器 冷凝器各种材质及翅片类型我们工厂均可以加工,已经
图片尺寸640x351
什么是中冷器
图片尺寸735x393