表冷器结构

一种表冷器的制作方法
图片尺寸886x1000
表冷器是给制冷机散热的,把热量排到室外,它把压缩机压缩排出高温高压
图片尺寸640x504
一种便于清洁的风机盘管表冷器的制作方法
图片尺寸523x364
本实用新型提出了一种高稳定空调表冷器,设计简单,结构牢固合理,安装
图片尺寸1136x776
38孔铜管铝箔风机盘管表冷器蒸发器
图片尺寸1000x1415
空调机组高效节能表冷器的制作方法
图片尺寸871x1000
一种表冷器
图片尺寸1000x749
tls型表冷器
图片尺寸810x342
cn209319154u_一种便于安装的表冷器有效
图片尺寸770x1000
纺织空调表冷器,化纤空调冷凝器
图片尺寸1000x1415
一种表冷器的制作方法
图片尺寸1000x753
一种具有虹吸式排水结构的表冷器
图片尺寸444x350
风机盘管的主要材料:蓝色亲水泊表冷器.
图片尺寸639x447
油冷器
图片尺寸843x1192
闭式冷却塔表冷器防冻结可靠排余水结构制造技术
图片尺寸916x879
百年制冷
图片尺寸1500x839
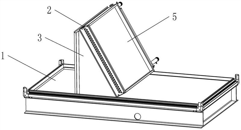
一种用于空调机组的表冷器斜装结构-爱企查
图片尺寸800x432
翅片式冷凝器,翅片式蒸发器,壳管式蒸发器,壳管式冷凝器,表冷器,油
图片尺寸900x730
表面冷却器热工性能实验
图片尺寸1014x630
一种表冷器冷却结构-爱企查
图片尺寸629x800