表壳加工图纸

表壳表带工程图(全套参考)
图片尺寸834x1200
表壳表带工程图(全套参考).pdf
图片尺寸792x1121
表壳链类手表 - 生活用品模型下载 - 沐风图纸
图片尺寸765x554
cn1488086a_具有表带的表壳失效
图片尺寸709x635
具有将具有不同功能表芯的表胆模块和不同款式,材质,颜色等的表壳模块
图片尺寸868x1000
手表表壳零件图cad图纸
图片尺寸749x565
手表表壳零件图cad图纸
图片尺寸860x779
cn202209970u_不锈钢水表壳有效
图片尺寸1738x1431
一种高密封耐磨损的防水表壳结构的制作方法
图片尺寸1000x870![[分享]来看一下苹果手表的cad图纸!](https://i.ecywang.com/upload/1/img2.baidu.com/it/u=2296526203,3457602865&fm=253&fmt=auto&app=138&f=JPEG?w=500&h=728)
[分享]来看一下苹果手表的cad图纸!
图片尺寸640x932
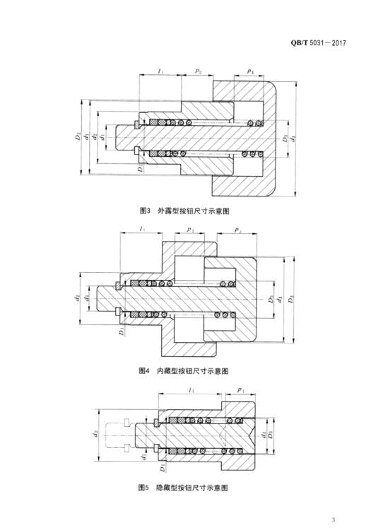
p>《手表壳—金属按钮》(qb/t 5031-2017)是201
图片尺寸525x747
简单手表外壳建模练习
图片尺寸813x556
cn1344386a_机械表制造方法失效
图片尺寸945x702
手表表壳零件图
图片尺寸760x576
一种表体结构及手表制造技术
图片尺寸983x1000
表壳
图片尺寸448x161
model she530 injection unit a b screw diamete
图片尺寸586x546
cn103105768b_具有方位记忆表冠的表壳有效
图片尺寸1000x878
长方型带与表面表面表壳图
图片尺寸549x383
表壳落料拉伸复合模(cad图 sw三维)下载_模具设计_机械图纸 - 机械5
图片尺寸795x755