裂隙灯构造

裂隙灯显微镜 | 常用检查方法图文高清对照版
图片尺寸1045x957
一种立体成像裂隙灯-爱企查
图片尺寸632x800
裂隙灯显微镜结构及使用.ppt
图片尺寸800x600
裂隙灯ppt课件
图片尺寸300x225
cn112806959a_裂隙灯风扇结构和裂隙灯有效
图片尺寸1475x1146
【眼视光】裂隙灯显微镜的使用
图片尺寸800x450
一种眼科裂隙灯照明转臂盖盒-爱企查
图片尺寸1356x2063
如何使用裂隙灯检查
图片尺寸2560x1920
简易型裂隙灯显微镜康捷kj5p手持式立体显微镜
图片尺寸750x502
裂隙灯的结构与使用
图片尺寸837x497
裂隙灯的结构与使用
图片尺寸741x512
一种眼科裂隙灯的制作方法
图片尺寸921x1000
裂隙灯显微镜的制作方法
图片尺寸710x1000
一种手持裂隙灯的制作方法
图片尺寸1000x845
一种用于眼科治疗的手持式裂隙灯的制造方法与工艺
图片尺寸970x1000
裂隙灯显微镜的原理|结构
图片尺寸635x425
裂隙灯显微镜结构及使用ppt
图片尺寸1080x810
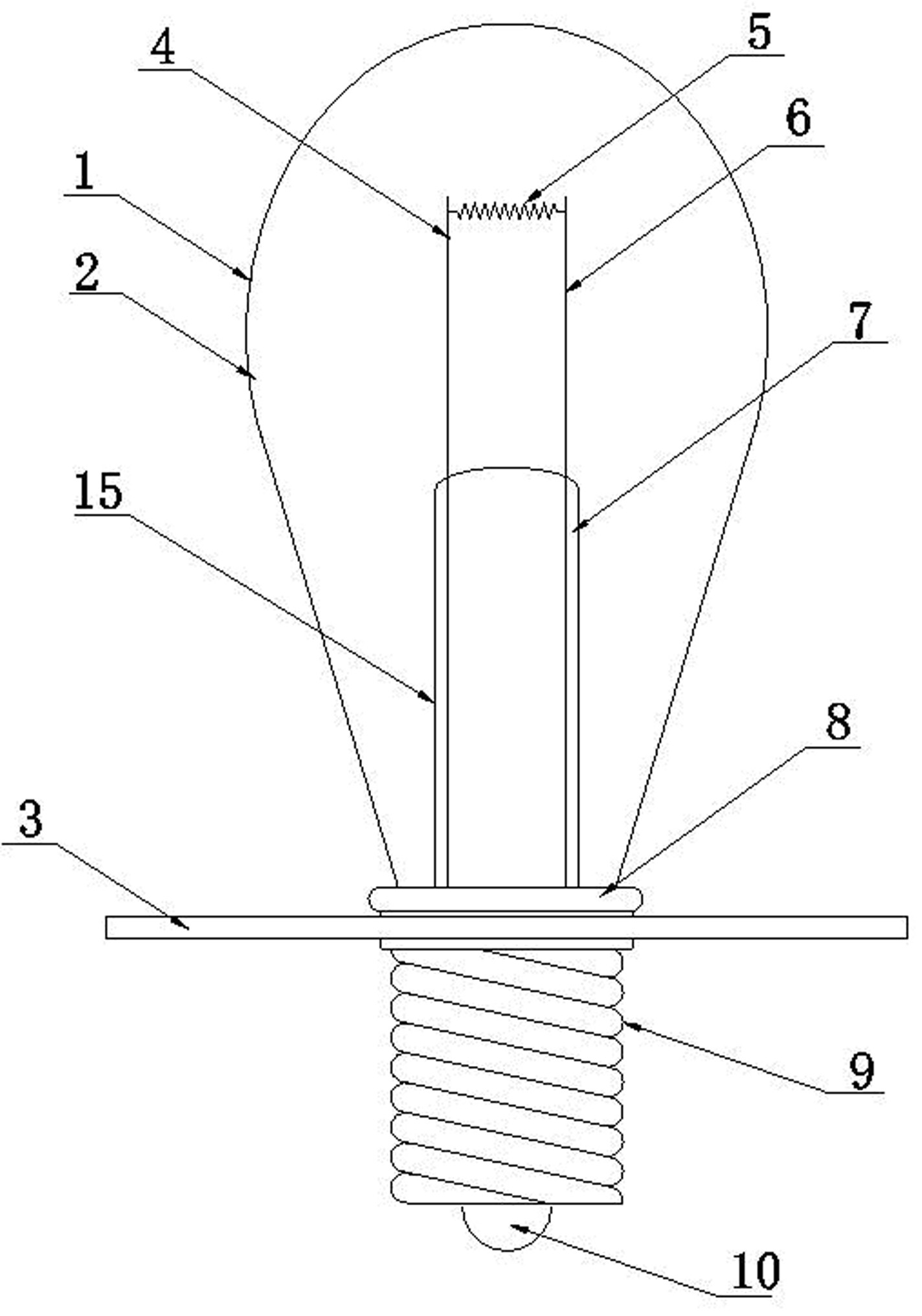
一种眼科裂隙灯显微镜配件灯泡结构
图片尺寸1424x2032
康捷kj5p 裂隙灯显微镜
图片尺寸1098x750
一种眼科专用可调节裂隙灯的制作方法
图片尺寸1000x837