装配式楼梯图集

20g367-2:预制钢筋混凝土楼梯(公共建筑)
图片尺寸1600x1131
预制混凝土楼梯_武汉市华江幸福装配式建筑有限公司
图片尺寸640x417
楼梯配筋图
图片尺寸841x594
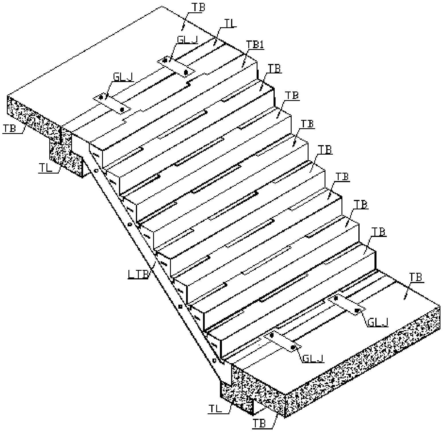
预制装配式钢筋混凝土楼梯构造
图片尺寸1417x982
一种装配式钢混结构楼梯的制作方法
图片尺寸1000x961
cn113047551a_一种模块化装配式剪叉型钢结构外墙楼梯及其装配方法在
图片尺寸1559x2621
国标图集22g101-2(现浇混凝土板式楼梯)主要修订及新增内容
图片尺寸1080x683
7.2预制装配式钢筋混凝土楼梯构造 所属课程:《房屋建筑学(第3版)》
图片尺寸1800x1350
sjt 05-2023 装配式建筑标准化产品系列图集(预制混凝土楼梯)深圳市
图片尺寸800x800
7.2预制装配式钢筋混凝土楼梯构造
图片尺寸1800x1350
分享midas钢楼梯计算资料下载
图片尺寸760x608
某钢楼梯节点构造详图(1)
图片尺寸764x538
7.2预制装配式钢筋混凝土楼梯构造
图片尺寸1800x1350
140kb格式 dwg等级:钢结构楼梯大样图立即下载loft钢结构楼梯大样图
图片尺寸760x571
多款楼梯大样施工图
图片尺寸696x490
预制装配式钢筋混凝土楼梯构造
图片尺寸1080x810
楼梯详图
图片尺寸841x594
cn212176359u_一种全装配式楼梯体系有效
图片尺寸1545x1506
楼梯大样二
图片尺寸1553x1105![[分享]装配式建筑滑动楼梯节点做法](https://i.ecywang.com/upload/1/img1.baidu.com/it/u=11188721,3402239601&fm=253&fmt=auto&app=138&f=JPEG?w=415&h=500)
[分享]装配式建筑滑动楼梯节点做法
图片尺寸556x670