装配式空调板

装配式空调板 装配式隔墙板生产线
图片尺寸400x282
装配式建筑科技产业示范基地
图片尺寸886x592
工程_集成房屋_公司_装配式建筑展厅
图片尺寸4160x3120
预制空调板 - 装配式预制构件 - 烟建集团混凝土制品公司官网|工业
图片尺寸750x500
pc阳台板,空调板安装要点 - 预制建筑网:装配式建筑行业平台
图片尺寸304x307
晋城预制装配式空调板-业臻管桩-预制装配式空调板批发
图片尺寸600x400
cn212252928u_一种装配式建筑的空调板有效
图片尺寸1000x879
装配式高层剪力墙住宅楼施工实拍分享
图片尺寸750x422
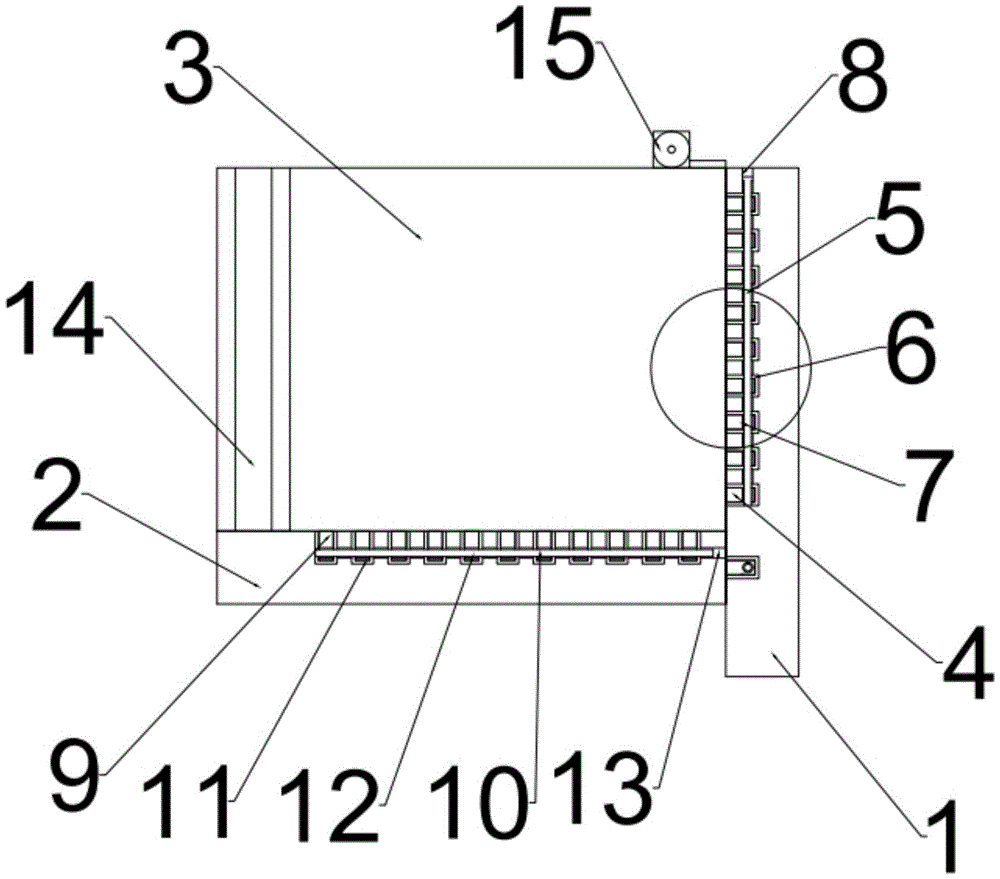
一种装配式建筑的空调板的制作方法
图片尺寸1000x879
朔州本地的预制装配式空调板哪家质量好
图片尺寸750x600
百度爱采购首页 商品专题_装配式设计解决方案:由于阳台板,空调板的
图片尺寸485x346
装配式空调板 焦作装配式构件生产线
图片尺寸500x353
装配式建筑结构体系介绍,赶紧收藏吧!
图片尺寸576x383
济宁环保装配式空调板模具厂家
图片尺寸600x480
装配式空调板 装配式隔墙板生产线
图片尺寸550x516
装配式建筑技术概述及与传统工艺的比较
图片尺寸760x570
预制空调板的设计,生产,堆放和运输 - 提供装配式建筑,建筑结构设计一
图片尺寸640x329
对于装配式建筑你不得不了解的施工细节视频
图片尺寸862x451
一种防拼接漏水的装配式空调板的制作方法
图片尺寸444x434
装配式支吊架通用技术要求标准
图片尺寸1080x1440