订书机原理

订书机
图片尺寸2559x1591
deli得力重型订书机 0393加厚订书器 大号装订机 可订210页
图片尺寸793x2472
宝克重型订书机st1150可订100页 1160可订200页订书机厚层订书器
图片尺寸790x788
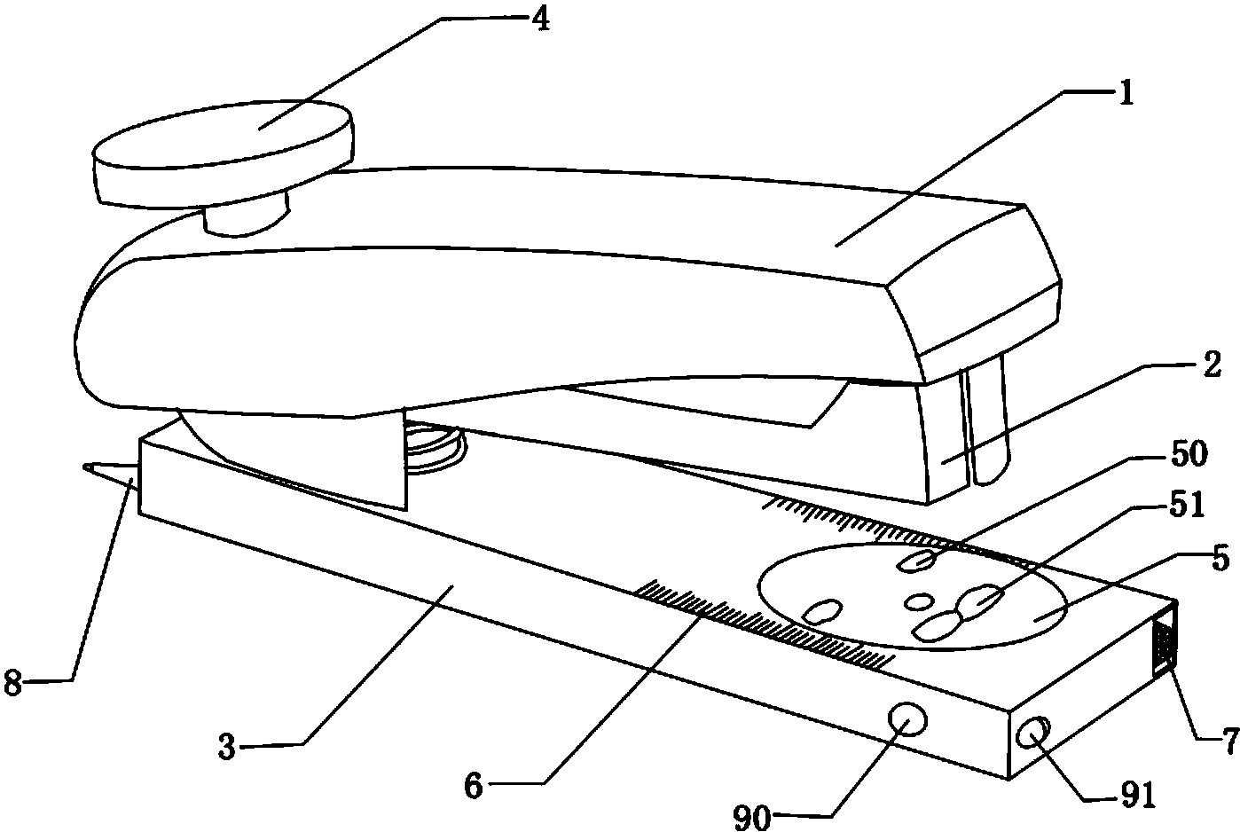
一种省力订书机
图片尺寸1609x1279
电动订书机的制作方法
图片尺寸740x1000
得力0394订书器订书机大号重型加厚省力订书机装订器可订100页
图片尺寸750x1233
一种订书机的制作方法
图片尺寸851x1000
订书机是省力杠杆的物理原理是什么?
图片尺寸587x435
得力deli 0393厚层大订书机 特重型大型订书器 加厚210页装订机
图片尺寸750x533
一种可记录装订顺序的订书机制造技术
图片尺寸1000x923
一种订书机的制作方法
图片尺寸1000x704
订书机:用力点到支点的距离等于阻力点到支点的距离,所以是等力杠杆
图片尺寸1181x736
cn1799860a_订书机有效
图片尺寸1858x1844
cn207104831u_一种多功能订书机有效
图片尺寸1398x938
一种省力订书机的制作方法
图片尺寸1000x655
订书机结构原理说明书
图片尺寸602x369
一种电动订书机的制作方法
图片尺寸992x1000
cn207983261u_一种安全防护功能的订书机有效
图片尺寸1945x2179
一种省力订书机的制作方法
图片尺寸1000x825
得力0370超值实惠订书机带起钉器 12号针订书机 省力型订书机
图片尺寸750x494