试管夹装置图

固定和支持的仪器 试管夹 试管架 铁架台 用于夹持试管 用于放置试管
图片尺寸1080x810
一种检验科试管夹装置的制作方法
图片尺寸1000x823
一种夹取位置可调式夹管装置制造方法及图纸,试管夹持装置专利_技高网
图片尺寸829x1000
从左向右,使用的仪器有酒精灯,试管,单孔胶塞,导气管,铁架台,试管夹
图片尺寸366x262
一种方便摇晃的生物实验用试管夹取装置制造方法及图纸
图片尺寸582x1000
进样器试管夹持装置
图片尺寸415x332
一种化学实验用试管夹持放置装置的制作方法
图片尺寸526x432
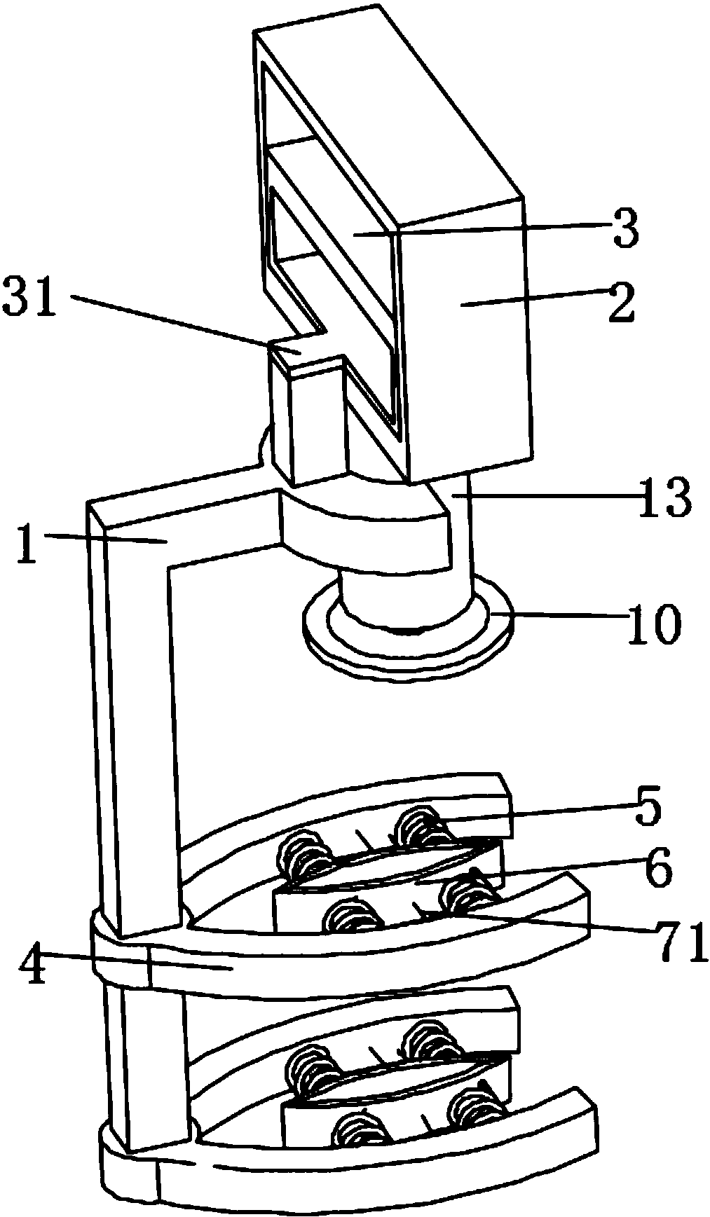
一种试管夹持装置
图片尺寸1135x2075
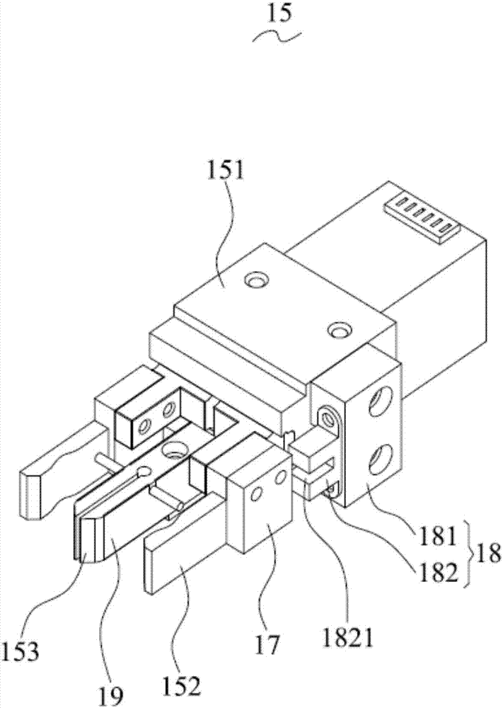
试管夹持装置
图片尺寸711x1000
一种可调节投药量的混凝实验搅拌机加药试管及试管夹 - cn
图片尺寸466x178
一种试管夹持装置 - cn201711306217.
图片尺寸1000x974
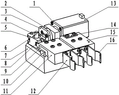
一种试管夹持装置的制作方法
图片尺寸1000x870
一种方便摇晃的生物实验用试管夹取装置
图片尺寸1013x1737
本发明涉及新型试管夹持装置技术领域,具体为一种生物技术用试剂管夹
图片尺寸407x535
一种试管夹持装置的制作方法
图片尺寸1000x816
用于夹持试管,给试管加热.
图片尺寸600x600
一种试管夹持装置
图片尺寸1000x738
试管夹夹持试管的简笔画
图片尺寸478x500
用试管夹夹试管 时应夹在离管口1/3处.——青夏教育精英家教网
图片尺寸611x316
一种化学化工实验用辅助试管夹持倒扣功能的清洗装置的制作方法
图片尺寸503x391