质谱仪结构

气相色谱质谱联用仪
图片尺寸1125x611
10-4 质谱仪的基本结构示意图
图片尺寸856x301
1. 质谱仪的基本结构
图片尺寸578x305
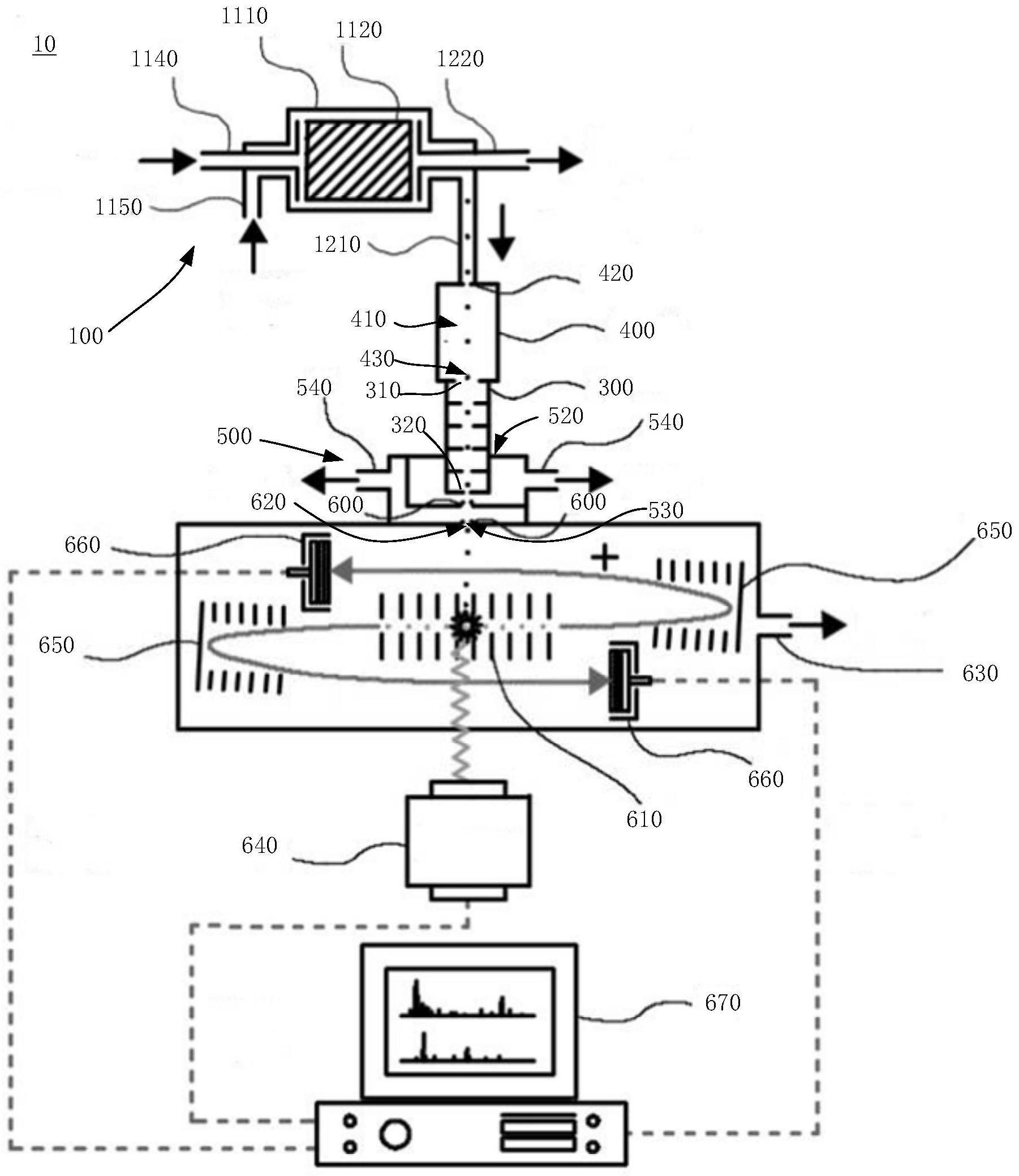
质谱仪
图片尺寸2020x2558
质谱中常用到的几种离子源
图片尺寸500x155
质谱的原理及结构ppt
图片尺寸1080x810
质谱组学应用难点如何攻克
图片尺寸948x545
质谱计在行星系统与小天体探测中的应用
图片尺寸1575x1239
质谱仪原理——质谱分析法
图片尺寸800x500
热裂解气相层析质谱仪pygcms
图片尺寸838x431
cn112185800a_一种电感耦合等离子体飞行时间质谱仪在审
图片尺寸1919x1123
三重四级杆质谱仪原理整合完整版ppt
图片尺寸1080x810
cn211654766u_小型化质谱仪
图片尺寸1586x1241
什么是"质谱"和"质谱仪"?
图片尺寸600x400
cn111725047a_质谱仪
图片尺寸1801x2078
cn103367091a_一种惰性气体磁式质谱仪及设计方法失效
图片尺寸1000x418
一种质谱仪的制作方法
图片尺寸580x318
什么是有机质谱仪的检测器?
图片尺寸269x289
【线上讲座12期b】液质联用之质谱部分详解(活动时间:2009年4月3日
图片尺寸673x464
仪器知识便携式气相色谱质谱仪的原理与构造
图片尺寸946x355