起重机结构图

塔式起重机日常安全检查要点ppt
图片尺寸900x669
cn201087083y_带有自拆装机构的起重机失效
图片尺寸2553x2096
履带式起重机知识,咱不是蓝翔毕业,但可以多学点
图片尺寸489x551
履带式起重机
图片尺寸714x398
桥式起重机#起重机 #电动葫芦 #龙门吊 #行车 #特种设备 - 抖音
图片尺寸873x1047
第八章桥式起重机的电气控制ppt
图片尺寸800x600
履带起重机
图片尺寸3472x2510
本文主要介绍了履带起重机的结构,工况,工作方式等.
图片尺寸392x475
图8-8所示为汽车起重机的结构原理图.它主要由以下五个部分构成.
图片尺寸868x810
单梁桥式起重机的基本结构图
图片尺寸1255x825
起重机液压系统
图片尺寸591x768
汽车起重机液压系统的概述和特点
图片尺寸565x573
cn101746677a_起重机有效
图片尺寸2112x1544
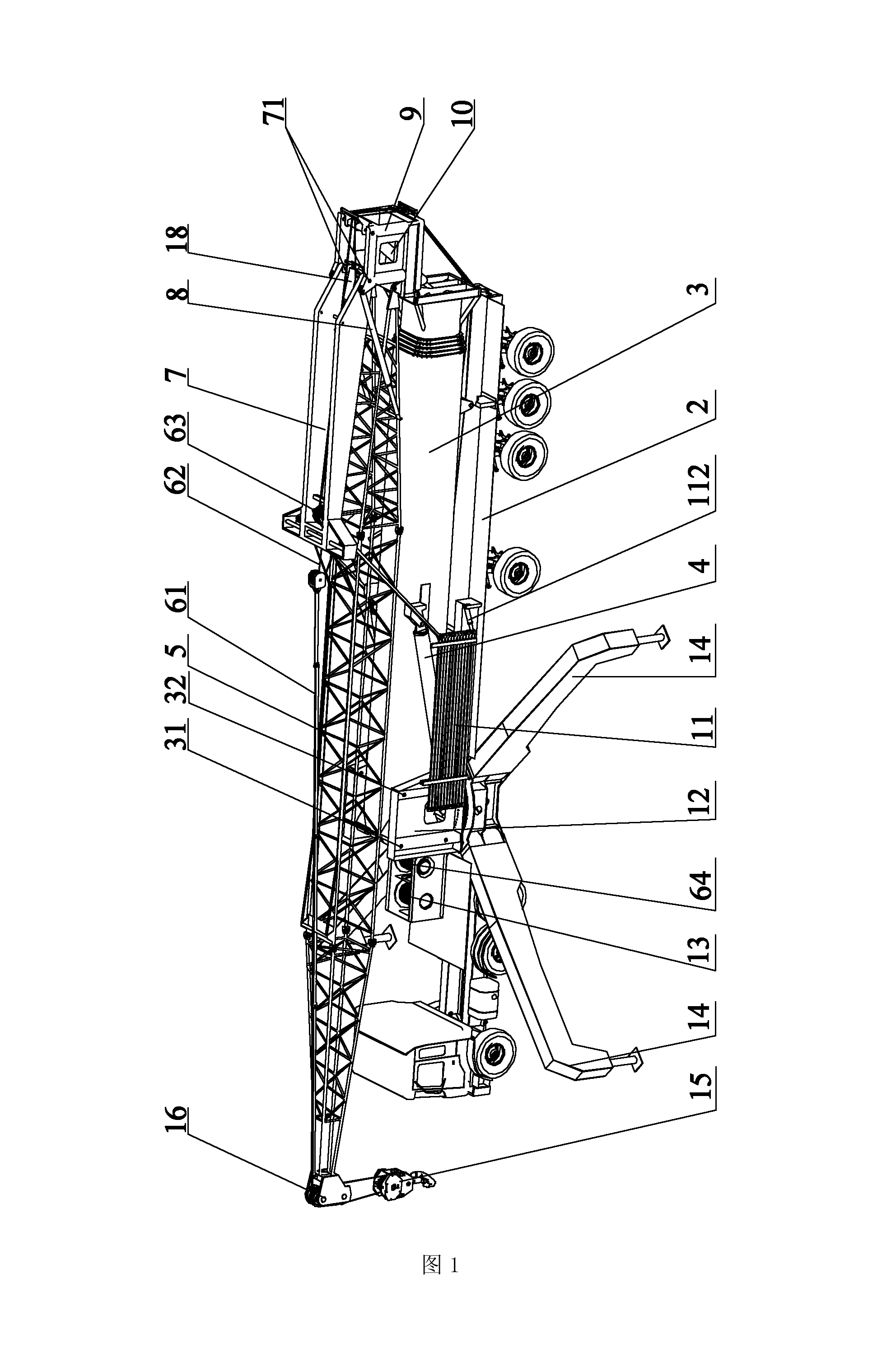
一种起重系统及一种移动式起重机
图片尺寸1984x2985
cn202296894u_单臂架门座起重机有效
图片尺寸2067x1688
cn102131728a_起重机结构有效
图片尺寸2984x1737
猜猜红色的是什么设备?参数多少?
图片尺寸756x393
门座起重机是什么
图片尺寸675x530
全球首台八轴千吨级全地面起重机xca1200「专利奖巡礼」
图片尺寸946x487
浮船坞门座起重机说明书ppt
图片尺寸1080x810