超空泡原理

超空泡的概念是什么
图片尺寸660x300
超空泡:传统海战模式的"踢馆人"
图片尺寸400x234
图为超空泡技术原理
图片尺寸640x458
所谓"超空泡",其实就是在舰艇的头部安装了一个可以产生空泡的空化器
图片尺寸640x446
超空泡技术ppt
图片尺寸1080x810
海湾营地1日营炮兵学院国防教育少儿科学武器常识远程对战超人学苑sh
图片尺寸693x591
超空泡射弹武器系统用于灭雷作业
图片尺寸745x818
超空泡技术
图片尺寸1080x810
超空泡技术ppt
图片尺寸1080x810
肥皂泡炸的时候不是"砰"的一声,而是"砰砰"!
图片尺寸487x483
简述真空泡结构和工作原理
图片尺寸800x1132
超空泡鱼雷有多厉害:一发就能摧毁核航母,美国海军的"梦魇"!
图片尺寸1280x715
研究人员试图使用超空泡技术来研发超音速潜艇
图片尺寸640x437
农药剂型博客
图片尺寸640x414
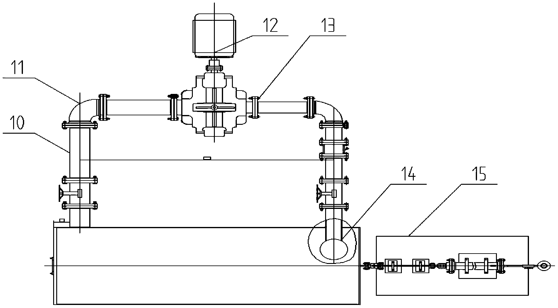
一种超空泡生成及控制装置
图片尺寸1826x1007
特种工程塑料泡沫的制备新技术—超临界流体发泡技术来了!
图片尺寸644x222
纳米气泡富氢水-朗派科技-丽江纳米气泡
图片尺寸750x562
对于英媒的报道,国内是有理可循的,前苏联在上个世纪根据超空泡原理
图片尺寸448x284
"超空泡鱼雷"是什么东西,什么原理
图片尺寸641x351
超空泡的概念是什么
图片尺寸660x371