超限梁概念

建筑力学 超静定结构 有多余约束, 有多余约束,有多余未知力 超静定梁
图片尺寸1080x810
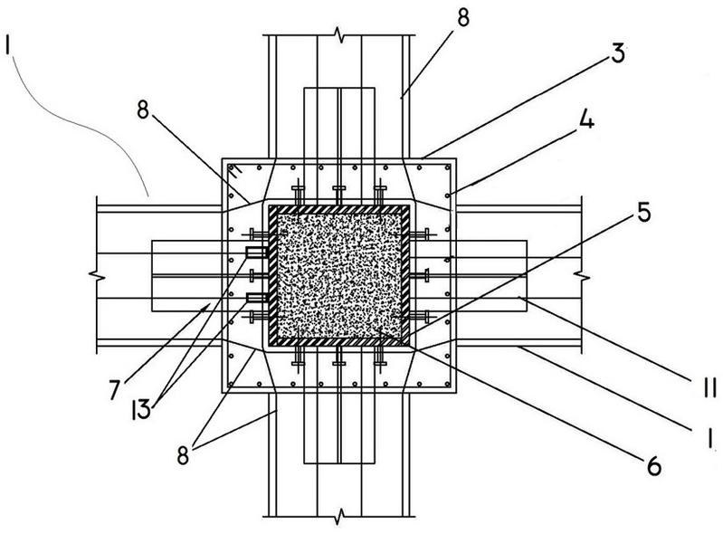
一种超限梁支撑体系的制作方法
图片尺寸1000x687
怎么验算混凝土梁的挠度,挠度超限怎么办?
图片尺寸720x588
限重49吨实载199吨超限卡车压翻高速桥面运输公司胆真大
图片尺寸1080x768
剪扭超限,矩形截面梁
图片尺寸306x591
地下二层超限梁区域碗扣钢管楼板模板支架-计算书.pdf 12页
图片尺寸792x1025
超静定梁
图片尺寸1080x810
一种超限花架悬挑梁体系的连接节点结构的制作方法
图片尺寸1000x548
ppt格式,共45页 目 录 §4–1 平面弯曲的概念及梁的计算简图 §4–
图片尺寸686x509
复杂超限高层综合楼结构设计论文
图片尺寸528x375
普通钢筋混凝土简支梁跨中区域正弯矩裂缝,属正常现象,但如果裂缝超限
图片尺寸2219x1488
pkpm有单独一根梁出现jnt(剪扭)超限,如何调整?
图片尺寸378x425
01建筑结构力学中的梁的概念可以通俗的理解为:承担竖向荷载的受弯
图片尺寸379x380
01建筑结构力学中的梁的概念可以通俗的理解为:承担竖向荷载的受弯
图片尺寸600x800
pkpm框架中主梁被次梁分开三段计算超限
图片尺寸1019x745
一种框架柱与大跨度超限梁构造-爱企查
图片尺寸799x590
由提升挂座,穿墙螺栓,电动提升机,钢丝绳,上下承重梁,智能超限载报警
图片尺寸546x363
至少应按照弹性膜计算,按照刚性板计算时容易发生错层处短柱的超限
图片尺寸410x294
出售起重机端梁欧式端梁吊装货物用龙门吊地梁 工业用走行梁
图片尺寸750x750
我们工程上所用的一片梁,一百多吨啊,光它梁都一百多吨,它这个超限太
图片尺寸550x367