跷跷板平面图

一种新型跷跷板的制作方法
图片尺寸1000x832
cn208130483u_一种供多人玩耍的跷跷板有效
图片尺寸1446x853
简笔画的跷跷板怎么画
图片尺寸640x480
怎么画跷跷板简笔画
图片尺寸628x353
跷跷板的制作方法
图片尺寸1000x478
一种新型跷跷板的制作方法
图片尺寸954x433
一种可以变形的跷跷板的制作方法
图片尺寸1000x535
跷跷板简笔画步骤图
图片尺寸900x600
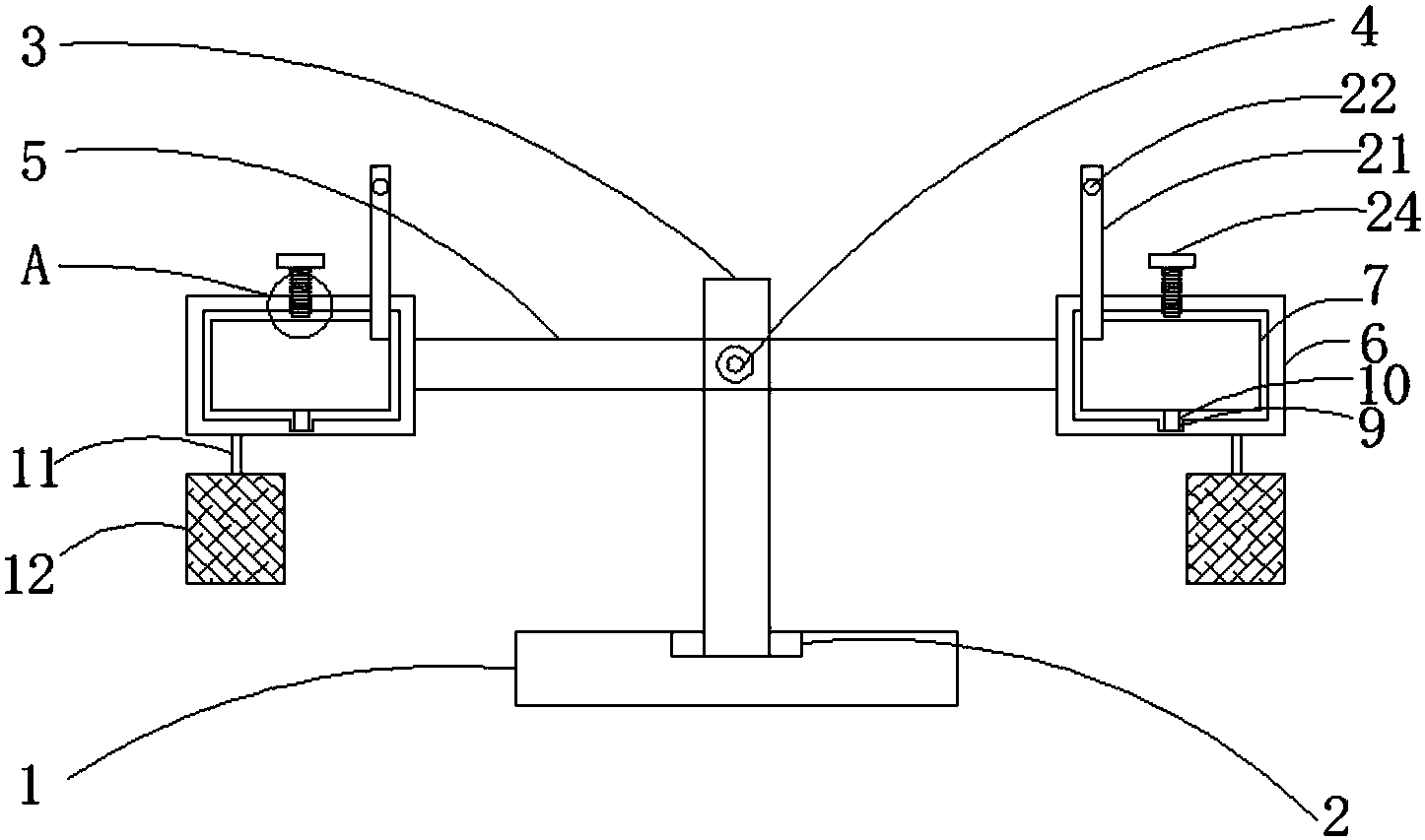
智能跷跷板的制作方法
图片尺寸908x1000
一种儿童跷跷板的制作方法
图片尺寸1000x828
一种减震跷跷板制造技术
图片尺寸1000x613
儿童休闲跷跷板
图片尺寸1000x461
一种便于改变间距的跷跷板的制作方法
图片尺寸1000x911
儿童游乐场的跷跷板或跷跷板.为幼儿园或学校播放设备.平面矢量设计
图片尺寸700x700
cn211189101u_一种应用于跷跷板的结构及使用该结构的跷跷板有效
图片尺寸1000x737
一种儿童娱乐用跷跷板的制作方法
图片尺寸1000x397
跷跷板
图片尺寸1000x510
一种用于水上乐园的防滑跷跷板的制作方法
图片尺寸443x310
一种具有降落保护功能的跷跷板的制作方法
图片尺寸443x300
跷跷板
图片尺寸260x260