车床顶尖结构

台州大久厂家批发回转顶尖dj08010大型车床超重型活动顶针
图片尺寸765x348
台州大久厂家批发回转顶尖dj-s06006车床cnc用精密活动/顶针
图片尺寸650x439
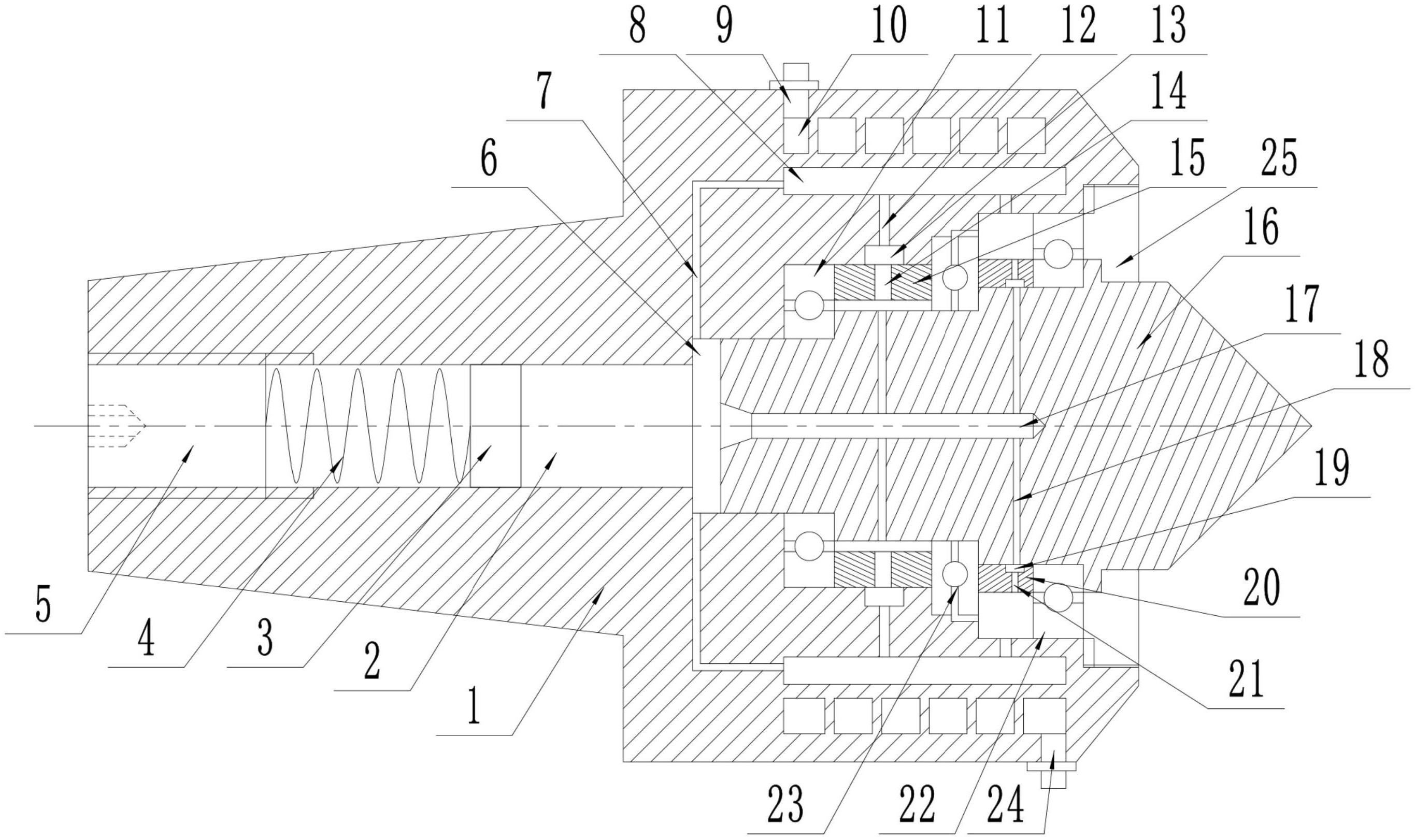
一种用于车床的回转顶尖,将原装置在顶尖上的向心推力轴承安装方向
图片尺寸2176x1358
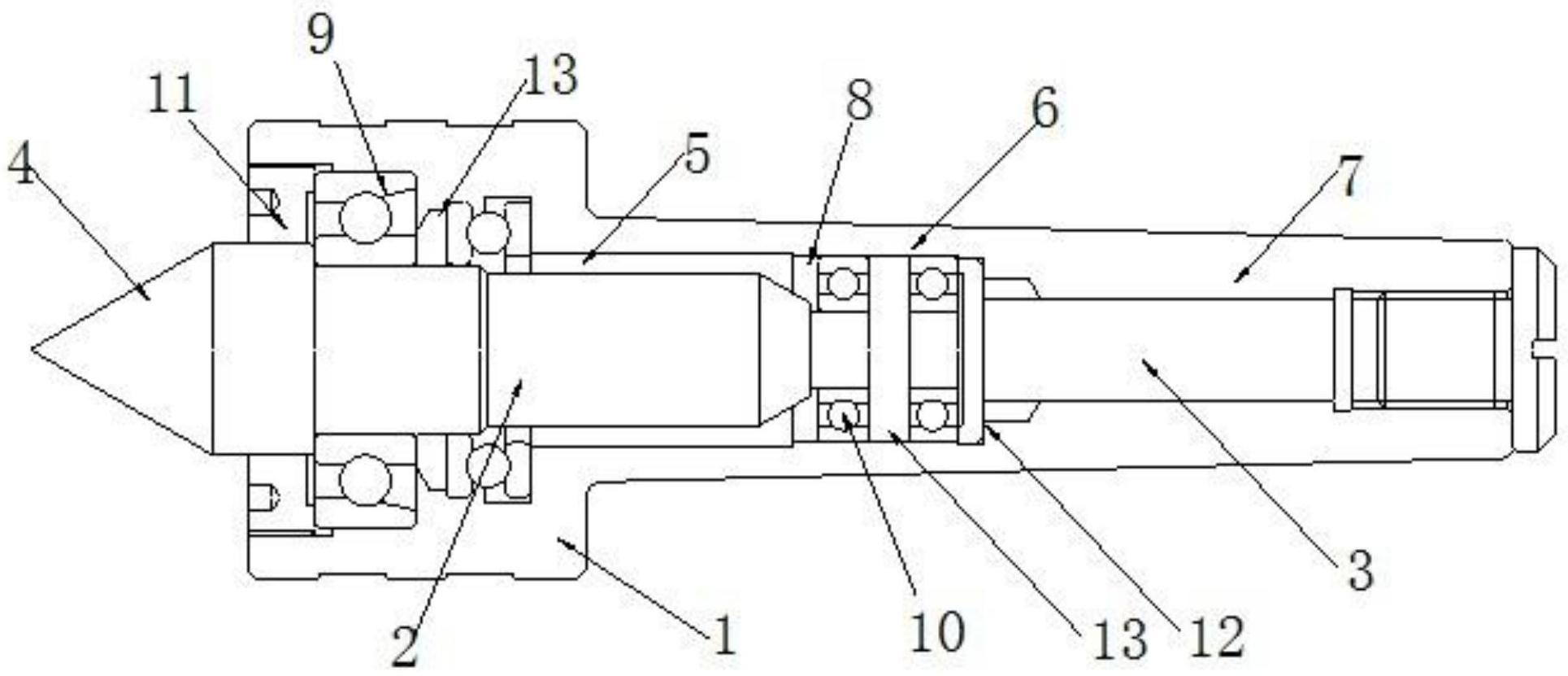
一种高精度旋转车床顶尖
图片尺寸1929x831
顶针重型回转顶尖莫氏mt56号车床活动顶尖
图片尺寸750x815
jmgs-mt5 高精度高速顶尖 车床回转顶尖 机床附件 勤丰五金
图片尺寸598x643
可更换顶尖头的活顶尖
图片尺寸800x567
一种防尘式旋转顶尖的制作方法
图片尺寸1000x504
高速木工车床回转顶针 数控木工顶尖 莫氏2 3 n4 5号 木工车床配
图片尺寸800x800
数控车床回转顶尖活动旋转尾座合金顶针高精密防水防尘莫氏4/5号
图片尺寸750x635
高精密高速轻型重型死/活车床顶尖离合器中心的工具
图片尺寸1219x552
首页 机床与金属加工设备展区 车床/数控车床展厅 产品库 顶尖 技术
图片尺寸490x239
一种机床顶尖上的防水防尘结构的制作方法
图片尺寸482x252
本实用新型是一种改进的外旋式活顶尖,为适于在各式车床,外圆磨床等
图片尺寸2368x1344
车床大口径管活顶尖-爱企查
图片尺寸799x591
车床伞型活动顶尖的制作方法
图片尺寸1000x561
一种简易车床顶尖装置的制作方法
图片尺寸1000x534
一种航空发动机壳体用加工车床顶尖装置
图片尺寸2731x1622
车床结构示意图
图片尺寸617x300
ca6140车床数控化改造设计ppt 普通车床改为数控车床 ca6140车床结构
图片尺寸1080x810