车铣复合图纸

车铣复合功能
图片尺寸1947x1231
数控全国技能比赛车铣复合题目
图片尺寸1672x1171
车铣复合件机械加工工艺规程及铣键槽夹具设计sw夹具三维zip
图片尺寸2338x1653
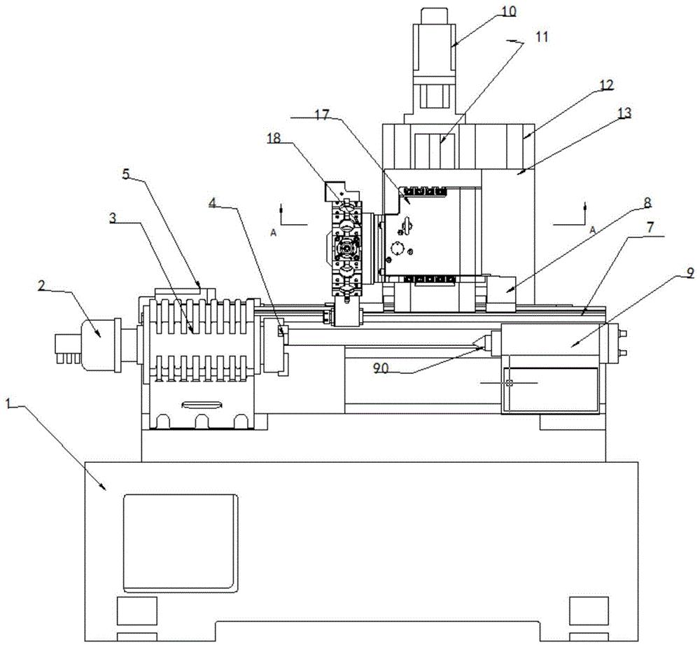
一种全功能平斜结合车铣复合中心的制作方法
图片尺寸1000x785
一种高速精密数控车铣复合机的制作方法
图片尺寸979x1000
数控车铣复合件
图片尺寸886x562
车铣复合316零件
图片尺寸1280x960
esprit车铣复合编程多少钱哪家专业
图片尺寸404x430
一种车铣复合机床的制作方法
图片尺寸1000x943
一种立式车铣复合加工中心
图片尺寸1000x808
一种卧式五轴铣车复合加工中心制造技术
图片尺寸1000x875
数控车床与车铣复合培训
图片尺寸709x526
cn109909746a_一种立轨式车铣复合机床有效
图片尺寸1000x924
一种铣车复合机床制造技术
图片尺寸1000x906
数控车床与车铣复合培训
图片尺寸709x526
一种卧式车铣复合加工中心
图片尺寸800x708
一:图纸编号001-976和001-586不可用铸造工艺,只能用机加工,外圆的
图片尺寸1000x725
cn206047596u_车铣复合机床有效
图片尺寸994x1000
车铣复合加工机床w轴进给机构设计【说明书 cad】
图片尺寸1200x800
一种车铣复合a轴结构的制作方法
图片尺寸562x507