车顶简笔画

手绘车顶矢量图
图片尺寸650x1545
矢量插图.
图片尺寸1100x1100
汽车顶部图标矢量图形插画-正版商用图片1p2a9j-摄图新视界
图片尺寸700x700
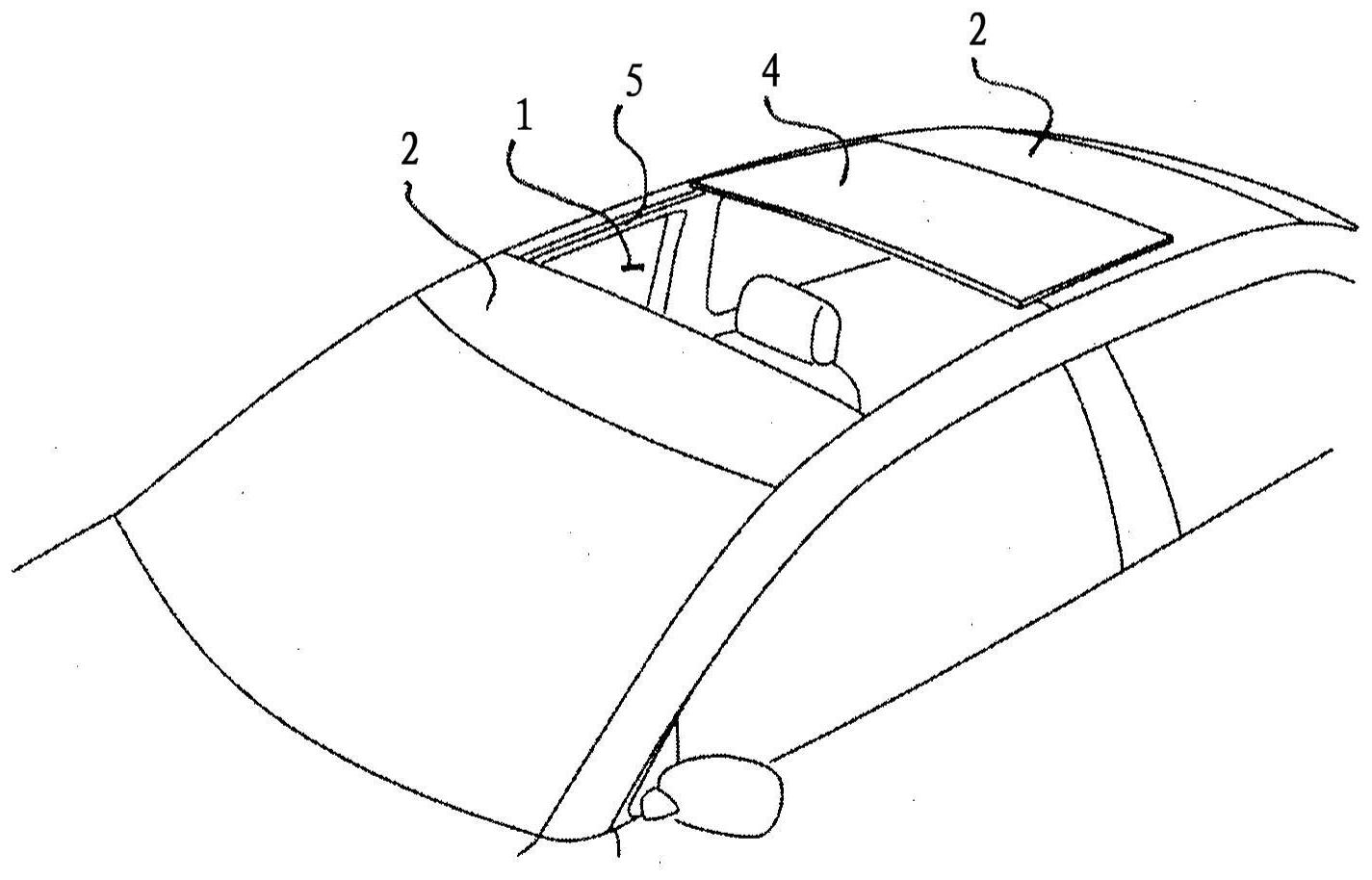
透明车顶系统及车辆的制作方法
图片尺寸805x361
车辆车顶制造技术
图片尺寸1000x503
汽车顶部图标图片-汽车顶部图标素材-汽车顶部图标插画-摄图新视界
图片尺寸573x300
手绘车顶
图片尺寸610x1025
宝马轿车顶视图线图片
图片尺寸1024x455
车顶
图片尺寸1748x1258
手绘车顶
图片尺寸610x424
汽车细线图标顶部插画-正版商用图片1k8qk5-摄图新视界
图片尺寸700x670
汽车顶部图标图片-汽车顶部图标素材-汽车顶部图标插画-摄图新视界
图片尺寸300x300
矢量设置轮廓车俯视图.汽车图标
图片尺寸1200x1008
车顶
图片尺寸1748x708
用于车辆的敞开式车顶构造
图片尺寸1425x914
车顶帐篷
图片尺寸552x451
一种折叠式车顶帐篷-爱企查
图片尺寸800x531
升降式车顶装置,及具有升降式车顶装置的车辆的制作方法
图片尺寸443x437
摘要附图摘要本实用新型公开了一种太阳能汽车顶棚
图片尺寸1670x1031
车顶
图片尺寸1694x1225