轧机导卫装置

厂家可定制rto系列扭转导卫轧钢设备导卫配件厂家合肥权盛机械
图片尺寸640x480
轧机导卫
图片尺寸2592x1944
钢厂导卫
图片尺寸640x480
轧钢导卫研发,导卫产品装置,导卫产品装置供应商,友洲机械,轧钢导卫
图片尺寸500x375
轧钢导卫研发,导卫产品装置,导卫产品装置供应商,友洲机械,轧钢导卫
图片尺寸500x375
达涅利系列导卫多少钱-质量好才是真的好
图片尺寸640x480
frs18t导卫
图片尺寸600x455
> 无孔型轧制滚动导卫2
图片尺寸810x608
无孔型轧制滚动导卫1
图片尺寸810x608
厂家可定制rto系列扭转导卫轧钢设备导卫配件厂家合肥权盛机械
图片尺寸1000x750
厂家直供可定制rto系列扭转导卫 轧钢设备导卫配件厂家-合肥权盛机械
图片尺寸640x480
re140导卫
图片尺寸1202x1010
合肥市科胜冶金设备有限公司是一家专业生产轧机导卫的企业
图片尺寸800x600
轧钢导卫研发,导卫产品装置,导卫产品装置供应商,友洲机械,轧钢导卫
图片尺寸500x375
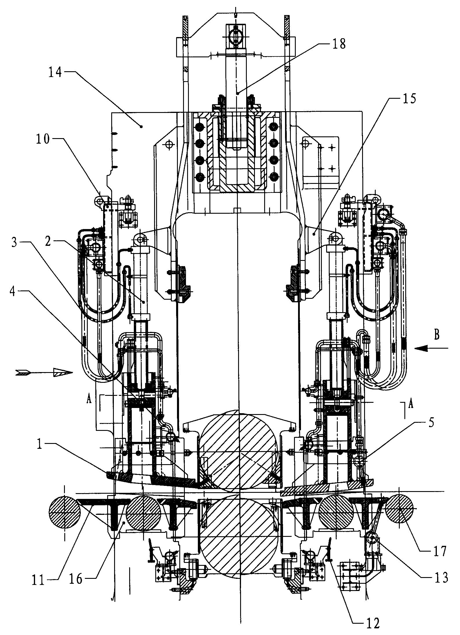
轧机导卫装置-爱企查
图片尺寸1588x2193
轧机导卫装置
图片尺寸600x520
上世纪90年代初,本公司参与了国内引进的高速线材轧机导卫
图片尺寸508x464
轧机导卫装置
图片尺寸600x520
滚动导卫
图片尺寸1280x960
供应达涅利10系列dr型导卫dr7a滚动进口导卫支持定制合肥权盛机械
图片尺寸750x1000