转换开关画法

谁能给个万能转换开关的原理图.详解的.谢谢
图片尺寸450x267
面板钥匙型转换开关的制作方法
图片尺寸255x359
请教师傅,转换开关电路图中黑点是如何表示怎么接线的,请参照下图给予
图片尺寸640x480
苏州电缆租赁专业公司跟您聊聊转换开关
图片尺寸341x244
手动自动转换开关怎么接线? - 知乎
图片尺寸986x599
生产 研发 万能转换开关 信号灯 按钮 - 抖音
图片尺寸750x1000
转换开关
图片尺寸582x519
用途多转换开关的符号表示
图片尺寸501x351
电路图中的转换开关的符号是什么
图片尺寸600x277
如图,转换开关怎么用?
图片尺寸640x398
转换开关 图2-2 转换开关的图形及文字符号 a)单极 b)三极
图片尺寸1080x810
文章配图
图片尺寸467x297
经常看到转换开关的接点图,不如下图,不知道怎么理解这种图的画法
图片尺寸412x362
双电源自动转换开关的制作方法与工艺
图片尺寸983x1000
转换开关
图片尺寸300x204
万能转换开关接线图(万能转换开关的接线图以及接法)-华力电机
图片尺寸1080x1046
lw5-16yh3/3型万能转换开关怎么接电压表,现在我的电压表怎么没有反应
图片尺寸544x294
万能转换开关的型号含义
图片尺寸499x260
lw38d-164c2213/2th万能转换开关
图片尺寸715x594
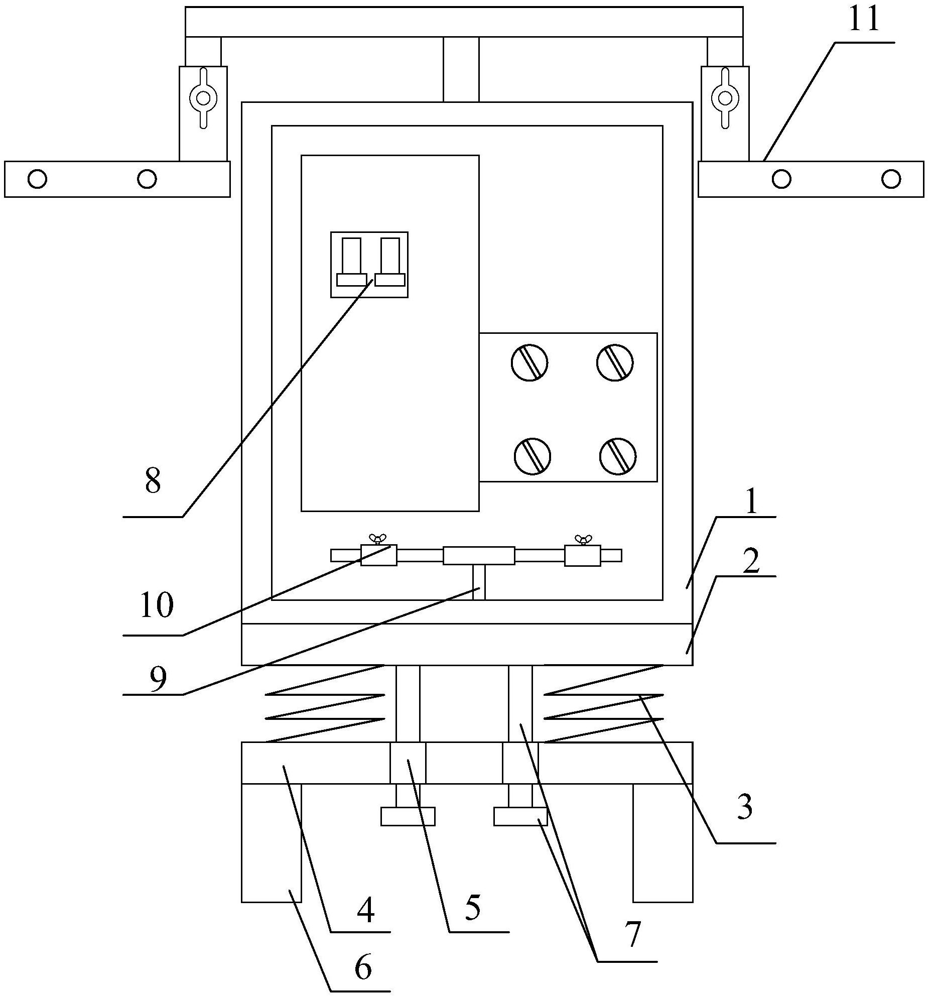
一种方便安装的双电源自动转换开关
图片尺寸1851x1986