转盘传动结构图

六边形非标转盘设备设计
图片尺寸588x417
汽车专业英语(幻灯片)chapter 5 steering system
图片尺寸1080x810
一种新型油田钻井转盘传动箱-爱企查
图片尺寸588x800
转向传动机构的作用
图片尺寸430x337
转向系主要由:转向操控机构,转向器,转向传动机构三部分组成.
图片尺寸1080x587
一种双齿轮传动转盘结构的制作方法
图片尺寸956x1000
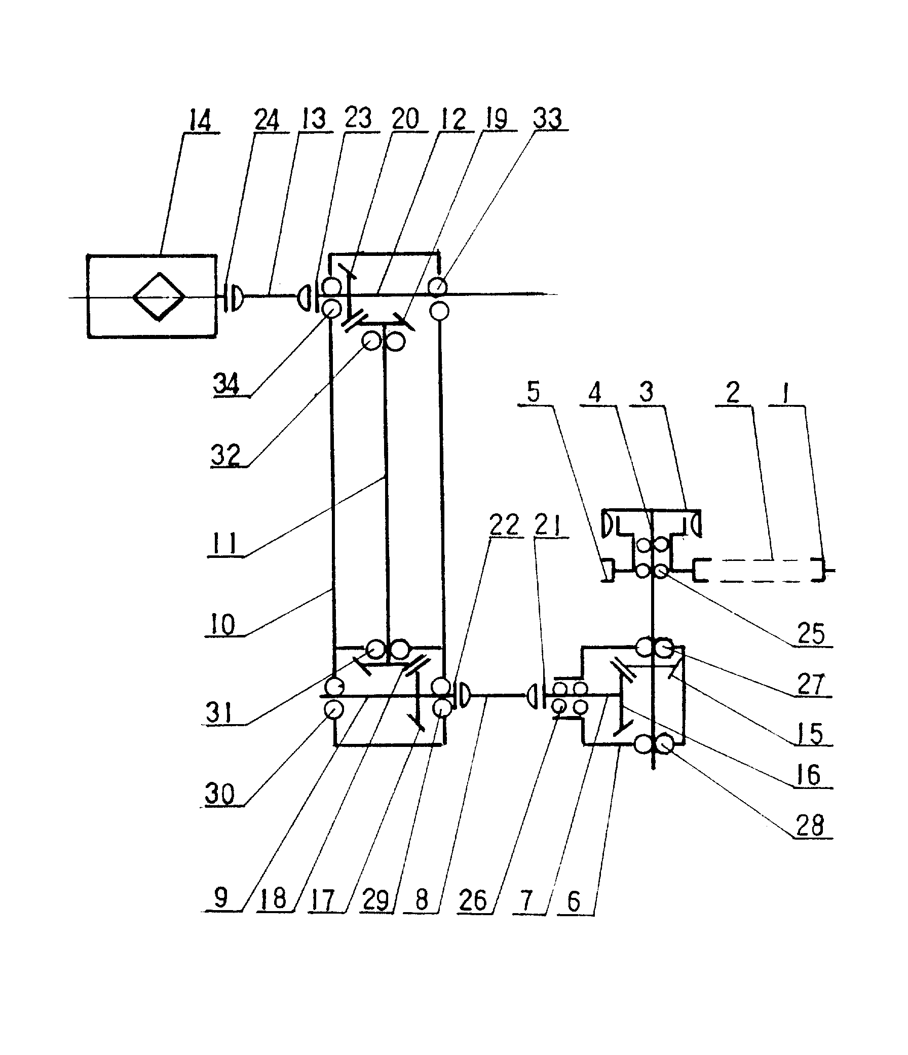
石油钻机转盘传动装置
图片尺寸1792x2082
cn209692514u_一种旋转自动分拣机用转盘中心旋转传动结构有效
图片尺寸1000x772
360度转盘驱动装置
图片尺寸1632x1212
三种常见助力转向系统介绍
图片尺寸500x291
圆转盘驱动功率会随支撑轮的半径增加而增加不符合能量守恒?
图片尺寸709x495
转盘机构的制作方法
图片尺寸1000x857
8工位转盘机构设计,气缸如何实现间歇驱动?
图片尺寸1452x908
旋转转盘机构 动力系统 传动系统 回转支撑 齿轮
图片尺寸519x466
转盘式内抛机的工件转动机构的制作方法
图片尺寸1000x857
一种旋转自动分拣机用转盘中心旋转传动结构的制作方法
图片尺寸1000x774
转盘旋转结构的制作方法
图片尺寸1000x658
一种座椅及其转盘的制作方法
图片尺寸1000x864
主动轮 锥型套结构通过同步带进行传动;大带轮带动整个转盘转动
图片尺寸677x604
一种转盘的制作方法
图片尺寸444x406