轴套油槽画法

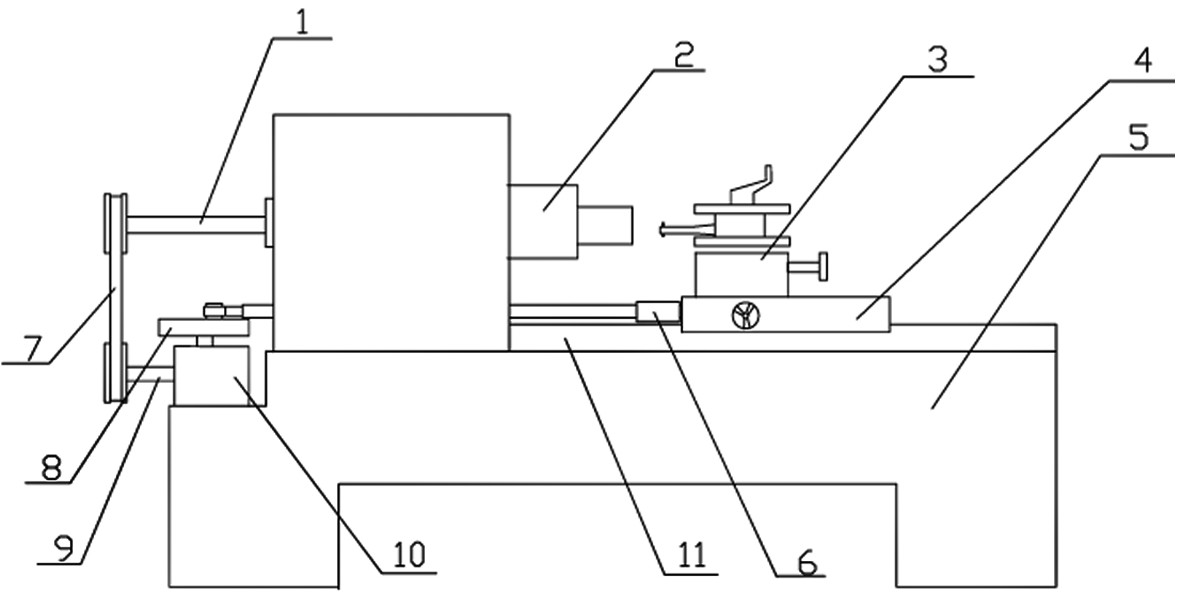
轴套车内油槽加工
图片尺寸1076x742
一种带螺旋型油槽的轴套结构-爱企查
图片尺寸1526x1339
轴套
图片尺寸820x646
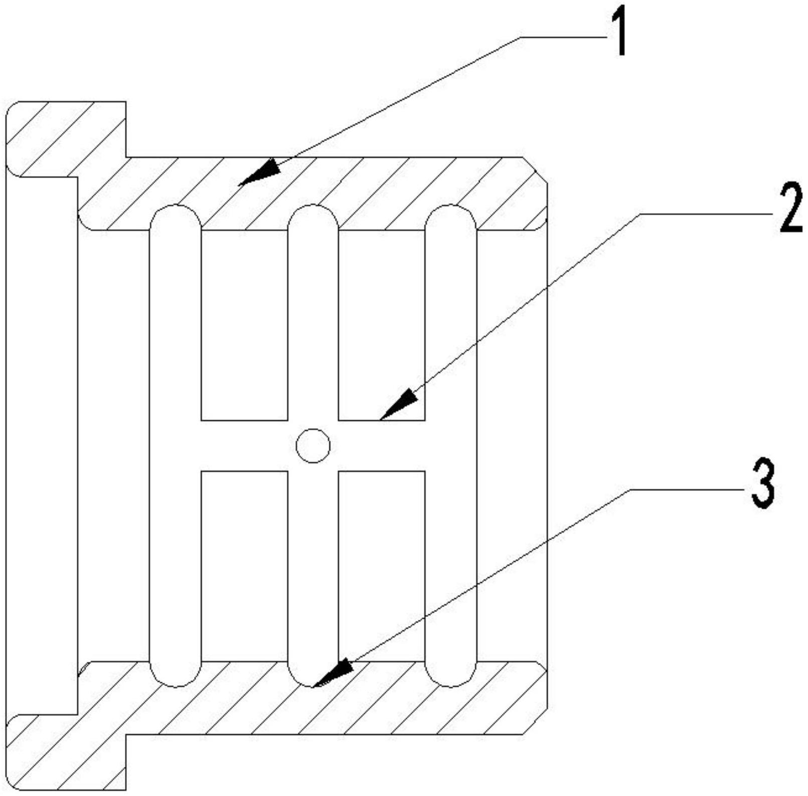
在销轴轴套的内壁上开螺旋形油槽,便于销轴和轴套之间的润滑,能够很好
图片尺寸1006x1162
轴套双环形循环油槽加工装置-爱企查
图片尺寸1181x598
三个环形储油槽通过连通油槽连通,轴套本体的平端面侧开设有注油孔
图片尺寸1611x1587
卷制轴套用润滑油孔油槽和油穴
图片尺寸393x344
铜套油槽的布置形式和尺寸偏差_润滑剂_嘉兴_应开
图片尺寸1142x321
卷制轴套用润滑油孔油槽和油穴
图片尺寸546x304
轴套零件工艺分析
图片尺寸893x502
工序简图画法ppt
图片尺寸1080x810
轴套
图片尺寸850x1169
轴套b型
图片尺寸950x407
图441所示为轴套的三种标注方法试分析说明它们所表示的要求有何不同
图片尺寸462x177
cn206217115u_一种注塑机锁轴转套螺旋润滑油槽结构有效
图片尺寸955x990
轴套
图片尺寸594x420
一种高耐磨自润滑轴套-爱企查
图片尺寸561x799
粉末冶金含油轴承轴套的主要尺寸
图片尺寸746x282
所述油槽的槽底处设有聚四氟乙烯层,所述轴套本体的内壁上开
图片尺寸1940x1364
轴套dwg
图片尺寸800x500