连接结构设计

美国木结构连接节点图示
图片尺寸1562x2147
vip丨榫卯连接方式设计案例图库
图片尺寸580x526
detail系列—铰接连接-钢结构-筑龙结构设计论坛
图片尺寸967x664
竹木结构连接简述-砌体&其他结构-筑龙结构设计论坛
图片尺寸760x467
螺栓组连接的结构设计技巧与禁忌
图片尺寸640x870
一种木质包装箱的板材连接结构的制作方法
图片尺寸982x1000
一种插入式模块化钢结构减隔震连接节点的制作方法
图片尺寸1000x822
cn204610543u_齿轮连通型双铰链360连接结构有效
图片尺寸424x464
cn208474262u_一种型材与挂杆的连接结构有效
图片尺寸912x1000
一种适用于大跨度工程的幕墙节点连接结构的制作方法
图片尺寸991x1000
一种适用于模块化钢结构的连接结构的制作方法
图片尺寸839x1000
减震弹簧连接件2-南通正道金属结构工程有限公司
图片尺寸600x740
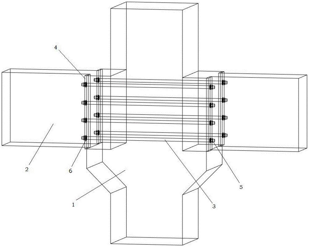
一种装配式框架结构梁柱连接节点
图片尺寸1000x799
一种抗震支架的连接装置的制作方法
图片尺寸417x443
一种用于水利工程的水利管道支撑连接结构
图片尺寸964x1000
一种大调节量连杆连接结构
图片尺寸1754x1342
一种土木工程用建筑模板连接结构
图片尺寸1922x1281
一种管道连接结构的制作方法
图片尺寸443x224
轻钢结构螺栓端板连接的实用设计方法
图片尺寸830x333
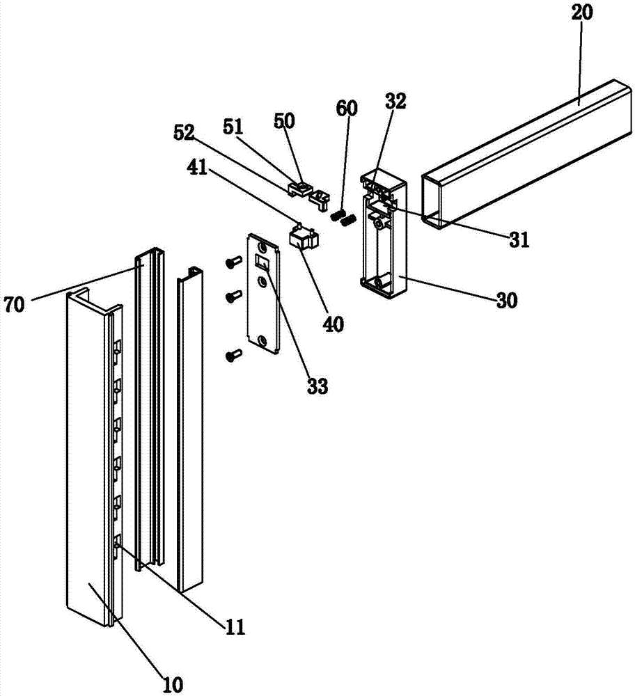
一种钢结构框架柱连接结构的制作方法
图片尺寸535x491