连杆举升机构

连杆举升机构
图片尺寸1083x629
设计很巧妙的机构「64」:八连杆升降机
图片尺寸640x360
汽车举升机的使用与保养基础知识讲座 上——刊自《汽车维修与保养》
图片尺寸1283x1374
机械原理多连杆水平升降机构
图片尺寸720x1280
气缸连杆顶升机构设计,如何利用死点解决自锁问题
图片尺寸1408x880
连杆机构升降平台-上海携赁物流科技有限公司
图片尺寸1100x730
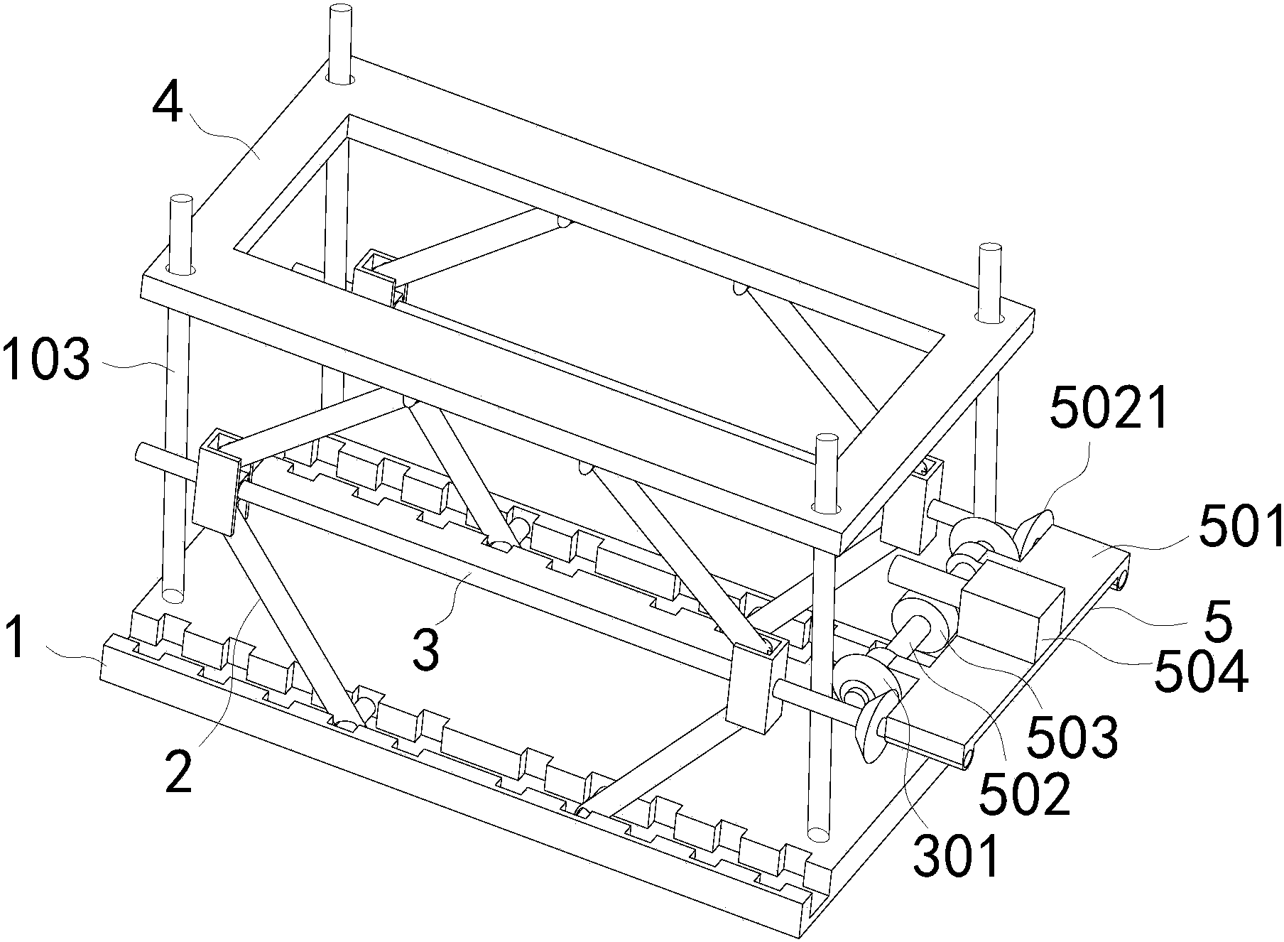
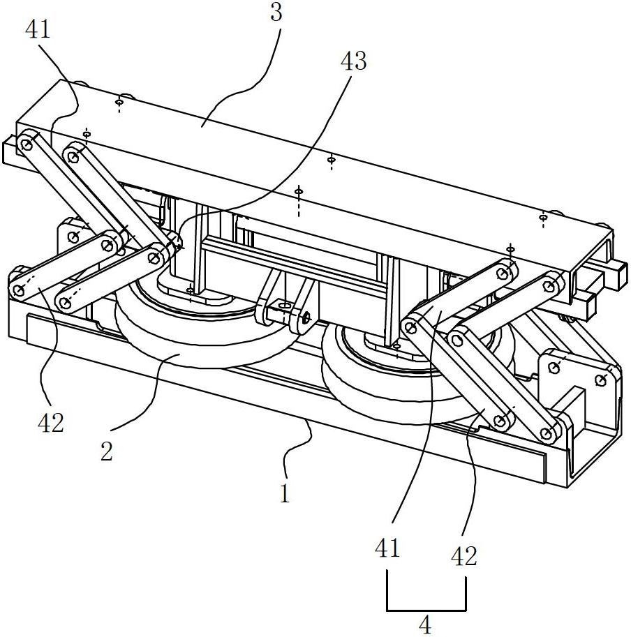
一种带曲柄连杆结构的包装轴举升机构
图片尺寸1919x1790
电机连杆升降机构模型
图片尺寸300x225
同步举升连杆机构多管平移机-爱企查
图片尺寸800x469
液压举升机构(t式)
图片尺寸800x600
求助,这个举升器四连杆机构带气弹簧的要怎么设计
图片尺寸849x830
了一种起重机主梁连杆举升装置,包括:底座,托架,丝杆,动力驱动机构,第
图片尺寸800x559
一种具有自锁功能的连杆举升机构的制作方法
图片尺寸1000x469
cn201990433u_升降平台车的主平台升降连杆机构有效
图片尺寸1448x1985
连杆机构 3d模型下载,cad图纸下载_开拔网/三维模型网www.
图片尺寸400x400
用于车辆检测设备的四连杆举升机构
图片尺寸904x913
一种连杆式agv举升装置的制作方法
图片尺寸1000x590
一种可调式连杆举升机
图片尺寸1808x1326
一种具有自锁功能的连杆举升机构
图片尺寸1000x465
一种抬升机构图纸合集的封面图
图片尺寸285x231