连杆压紧机构

一种连杆式液压压紧机构-爱企查
图片尺寸1443x1587
一种连杆式压紧机构的制作方法
图片尺寸1238x1373
气动连杆压紧机构图纸合集的封面图
图片尺寸285x285
手柄的摆动通过连杆带动压杆移动,可将物体压紧或松开.
图片尺寸284x177
其特征在于包括手柄,夹紧臂,四连杆机构及气缸;所述手柄与夹紧臂通过
图片尺寸1142x2354
连杆机构
图片尺寸1314x769
如图所示的夹紧机构在力f的作用下夹紧工件压紧时连杆2水平段连杆3和
图片尺寸463x253
图 4 连杆式舱门压紧机构
图片尺寸1575x1547
压紧时,连杆,摆杆的主要受力形式是
图片尺寸321x302
压力工装设计星星之歌14天前6610150solidworks2016上下往复连杆机构
图片尺寸285x394
手柄受弯曲,连杆受压,压杆受拉 c .
图片尺寸169x153
气缸驱动的连杆夹紧机构!
图片尺寸640x360
一种连杆式夹紧机构-爱企查
图片尺寸1831x1443
连杆压紧装置制造方法及图纸
图片尺寸1000x823
一种多连杆自锁扩力压紧机构
图片尺寸1531x2598
一种连杆式门压紧机构的制作方法
图片尺寸431x443
三连杆机械压紧结构, 看看是如何设计的-科技-高清完整正版视频在线
图片尺寸448x252
又一种压紧机构
图片尺寸1420x888
一种连杆压紧机构的制作方法
图片尺寸899x1000
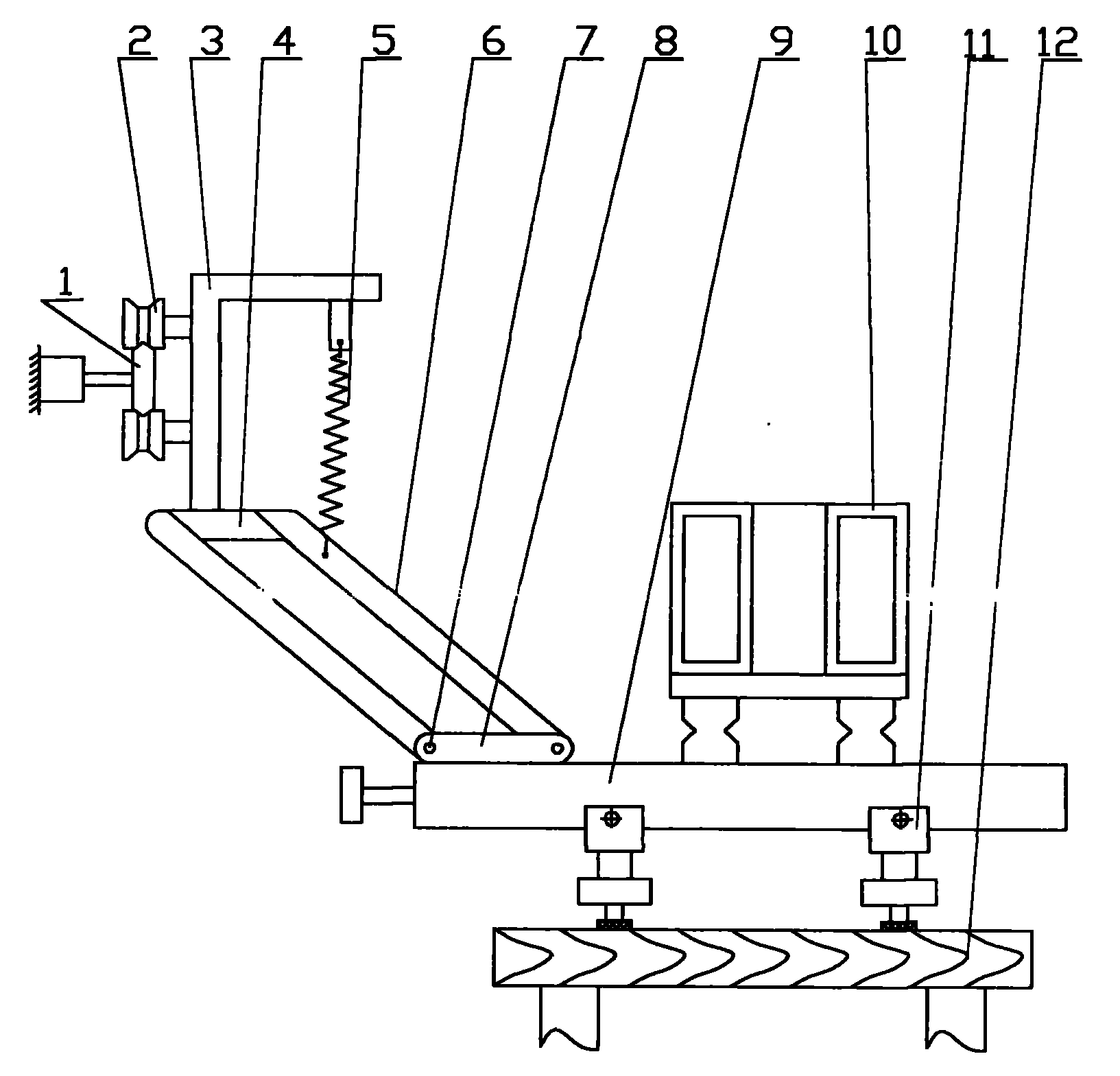
多排多轴钻孔机床四连杆板料压紧机构
图片尺寸1633x1568