连杆开门机构

三维运动仿真:一种4连杆驱动的开关门机构
图片尺寸1728x1080
连杆式开门装置
图片尺寸300x225
两种隐藏门的机构对比很巧妙的设计一起看看吧
图片尺寸500x281
图246开门机构
图片尺寸640x400
一种对面双开门防盗连杆结构的制作方法
图片尺寸887x1000
开门结构(连杆机构)
图片尺寸291x218
有见过这么开门的吗?机构运动动画仿真solidworks/ug三维建模
图片尺寸1080x675
连杆开合机构
图片尺寸300x225
cn200978584y_一种门窗开合四连杆机构失效
图片尺寸2076x1404
门窗四连杆机构
图片尺寸1090x622
这个连杆机构原理简单但很实用常用在一些开合门或翻转机构上
图片尺寸640x326
一种开关柜活门连杆机构的制作方法
图片尺寸708x1000
混合机新型开门连杆机构
图片尺寸1000x954
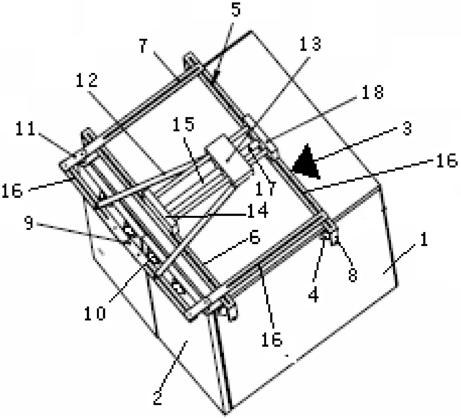
公开了一种气动对开门冰箱开门机构,包括固定连接装置,两个开门连杆
图片尺寸1916x1739
柜体支架,以及安装在柜体支架上的上活门组件,下活门组件,连杆组件,所
图片尺寸1019x2190
涉及一种平开门的折叠机构及平开折叠门,该折叠机构包括一连杆组件,所
图片尺寸1437x1927
连杆机构
图片尺寸741x548
配重辅助开门机构
图片尺寸300x225
用于起落架舱门的连杆机构和包含该连杆机构的打开关闭和锁定舱门的
图片尺寸444x436
机构门锁连杆设计图
图片尺寸300x225