逆止阀简图

水泵出口装逆止阀的作用
图片尺寸272x300
自密封旋启式逆止阀制造技术
图片尺寸944x1000
简图
图片尺寸359x375
cn209604610u_新型快关缓闭逆止阀
图片尺寸1000x741
一种抽汽逆止阀的制作方法
图片尺寸517x1000
一种缓冲撞击型逆止阀
图片尺寸880x1000
一种新型逆止阀的制作方法
图片尺寸999x1000
一种缓冲撞击型逆止阀的制作方法
图片尺寸880x1000
304不锈钢真空止回阀 kf单向阀逆止阀排气单向阀 真空泵止回阀
图片尺寸1028x1028
高温高压斜盘式逆止阀的制作方法
图片尺寸1000x701
弹性阀座旋启式逆止阀制造技术
图片尺寸960x1000
法兰消声止回阀|球铁止回阀|立式止回阀-泊头志高阀门法兰消声止回阀
图片尺寸750x626
进口低温止回阀|低温逆止阀
图片尺寸513x436
一种螺纹连接隔膜式高频启闭支管逆止阀
图片尺寸898x1000
缓闭式逆止阀厂家-型号-价格-300x
图片尺寸304x300
一种逆止阀制造技术
图片尺寸1000x798
止逆阀的制作方法
图片尺寸946x1000
其它安全阀|ha42x-16c安全逆止阀
图片尺寸457x504
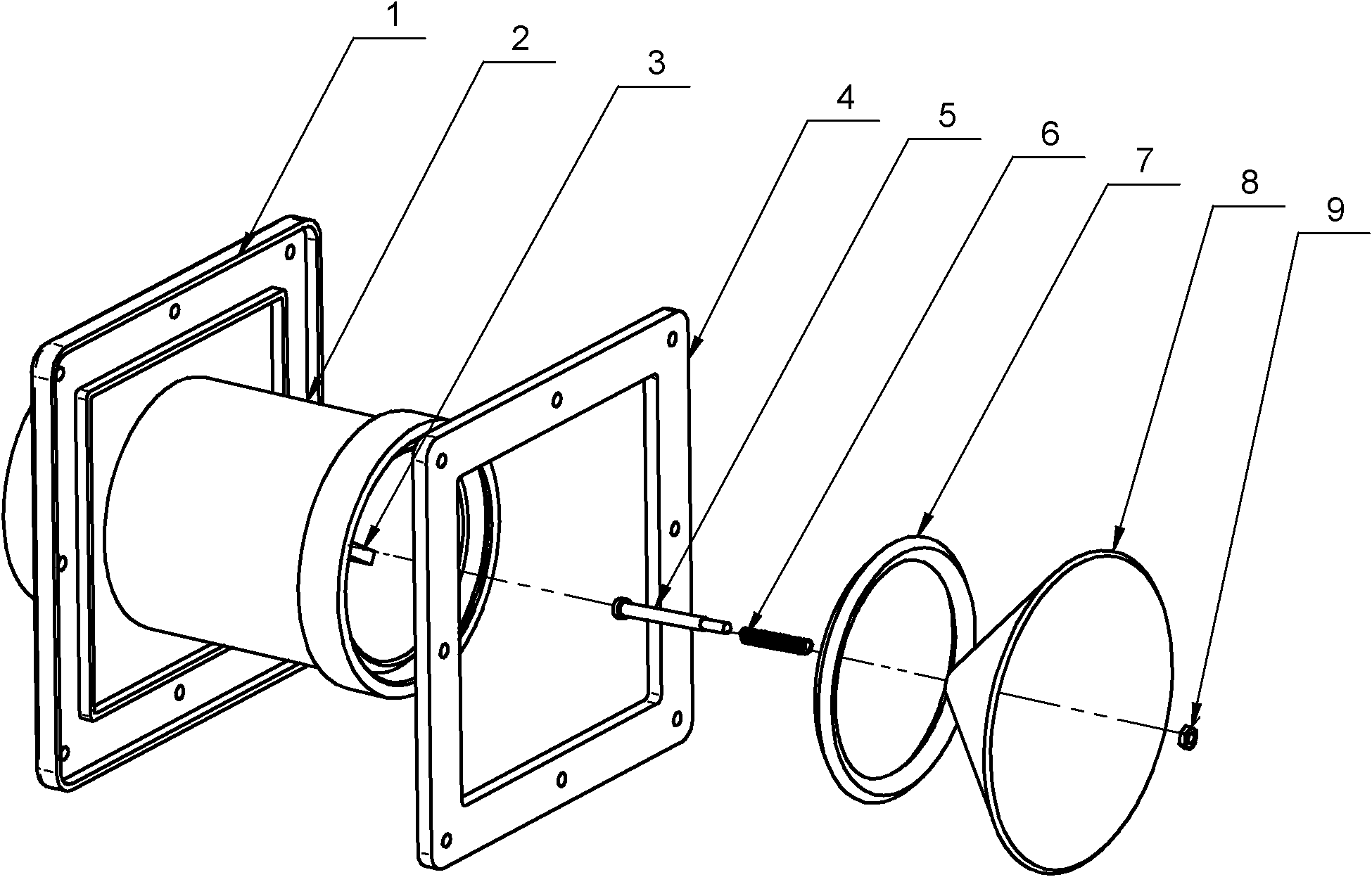
一种共用排烟道烟气味逆止阀
图片尺寸1950x1247
一种螺纹连接隔膜式高频启,闭支管逆止阀的制作方法
图片尺寸893x1000