透空式防波堤

港口水工建筑物之透空桩基式防波堤讲义
图片尺寸656x417
不同结构型式桩基透空式防波堤功效综合实验研究
图片尺寸1244x996
珠海蓝波湾为您打造优质浮动防波堤码头方案
图片尺寸520x343
连云港港徐圩港区防波堤用上大圆桶
图片尺寸1280x823
防波堤
图片尺寸800x600
防波堤图片
图片尺寸467x350
防波堤
图片尺寸670x446
设计图项目特点防波堤工程采用透空式防波堤结构,且同时在防波堤两侧
图片尺寸800x450
区计划建设7个7万吨级和15个2万吨级集装箱泊位及工作船码头,防波堤
图片尺寸900x675
反射式防波堤照片
图片尺寸451x300
珠海高栏港煤码头防波堤 全长1,400米
图片尺寸1080x810
透空式防波堤的制作方法
图片尺寸1000x825
00200防波堤建设
图片尺寸900x600
为什么要用透空式防波堤呢?
图片尺寸800x450
防波堤,波,波浪运动
图片尺寸1200x908
p>又称"透空式高桩码头".
图片尺寸400x284
p>又称"透空式高桩码头".
图片尺寸500x335
国内最大海上风电母港汕尾市陆丰海洋工程基地顺利完成主体结构施工
图片尺寸500x375
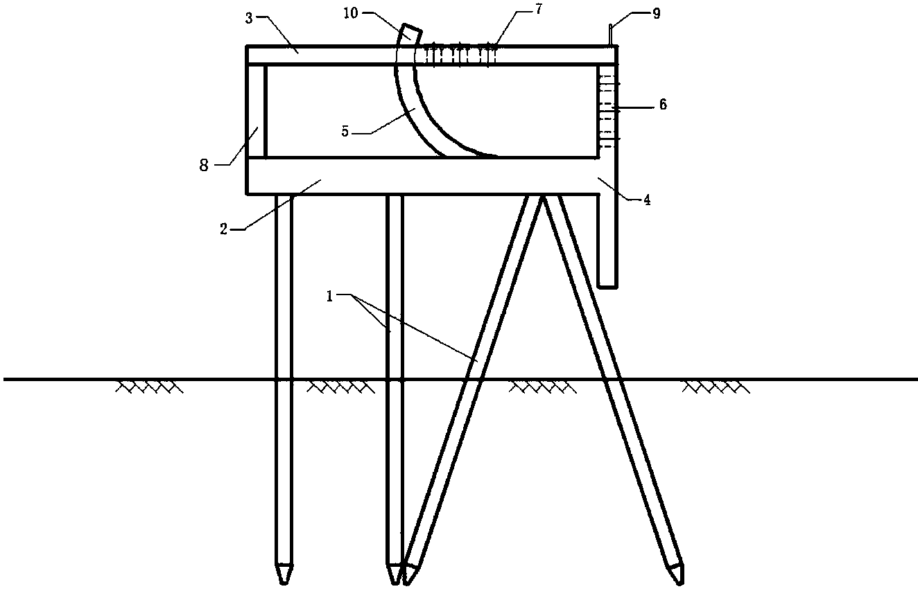
一种透空式防波堤
图片尺寸1324x850
一种桩基透空型防波堤的制作方法
图片尺寸1000x577