通风橱原理

中南整理实验室通风柜的位置选择
图片尺寸800x411
主题:【晒晒通风橱】分享通风橱相关知识 !参与有奖
图片尺寸580x212
风箱来源和原理
图片尺寸640x347
无管通风柜的优势(3):与传统通风柜使用成本的对比
图片尺寸1600x1131
主题:【原创】来谈谈你们是怎么样选购通风柜的?
图片尺寸577x436
通风橱排风
图片尺寸640x400
通风柜原理图
图片尺寸1920x1357
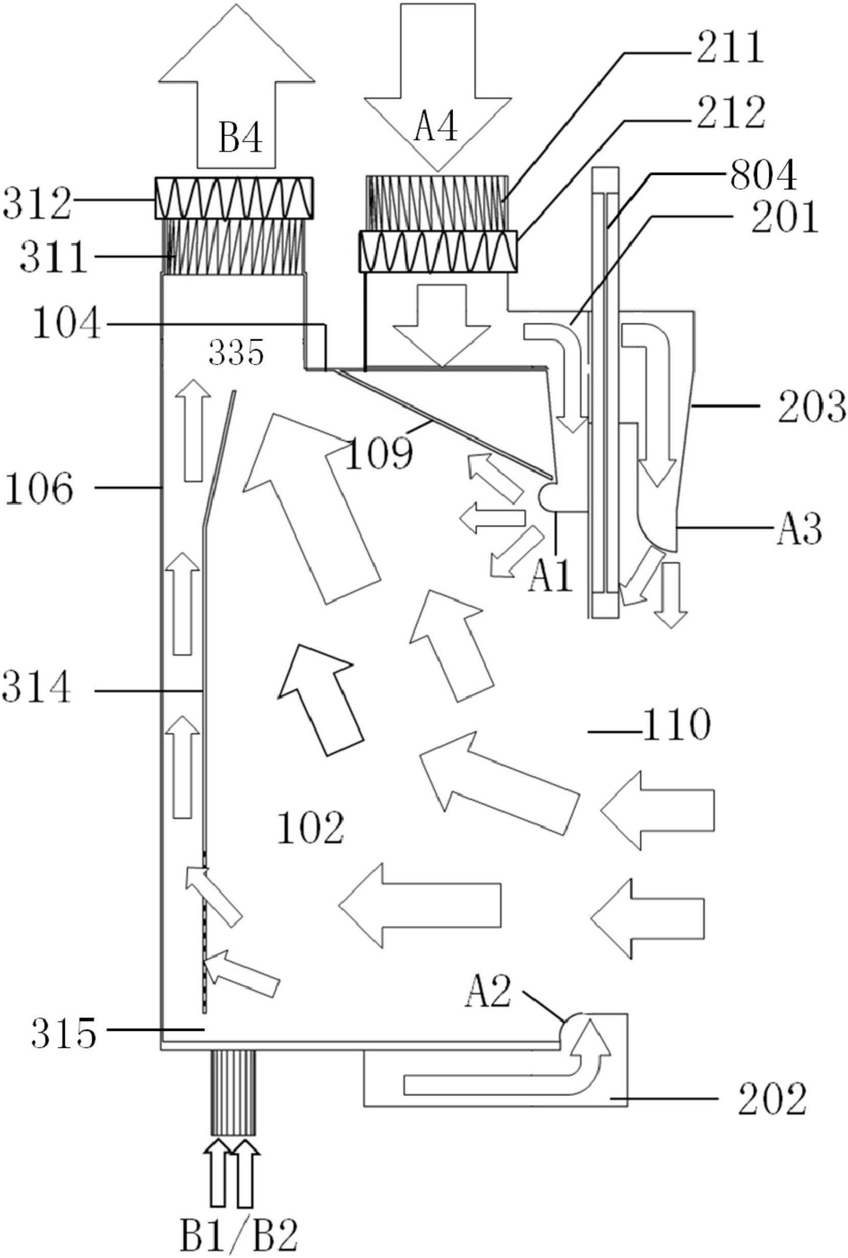
cn108435747a_通风柜在审
图片尺寸1658x2460
independence64无管通风橱
图片尺寸746x892
通风柜与生物安全柜超净工作台原理区别
图片尺寸596x323
锦财pp通风柜实验室抽风柜整体桌上型排风实化学通风柜15080150桌上型
图片尺寸750x942
pp通风柜3
图片尺寸958x613
cn2081947u_鼓风式燃气食堂灶失效
图片尺寸2496x1815
你知道吗老旧厨房中不起眼的风箱曾让中国科技领先世界几千年
图片尺寸573x253
实验室通风柜的噪音处理方法
图片尺寸800x632
定制实验室所有钢制通风柜排气柜化学通风柜排毒柜
图片尺寸640x845
1,通风实验柜工作原理简介: 通风实验柜是为保护实验室人员
图片尺寸600x372
欧莱博sw-tfg-18型通风橱厂家
图片尺寸1489x751
厨房通风系统理解设置
图片尺寸920x1303
通风柜与生物安全柜超净工作台原理区别
图片尺寸620x265