道闸简笔画

一种智能栅栏道闸的制作方法
图片尺寸1000x613
一种直流无刷电机驱动的道闸
图片尺寸387x217
小区门禁简笔画
图片尺寸500x423
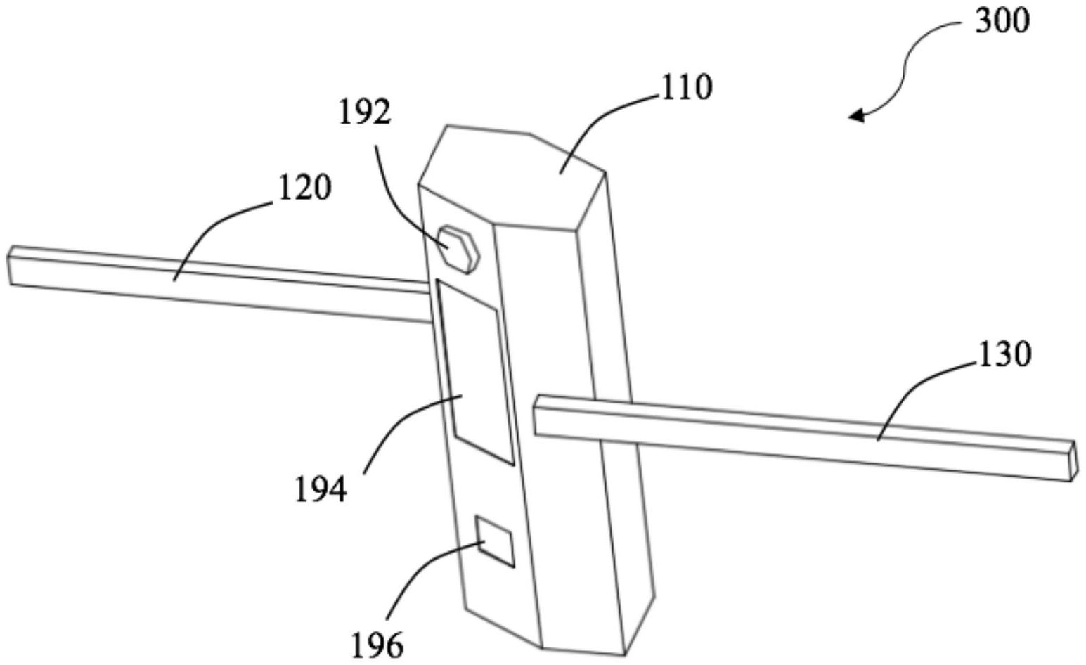
cn211973240u_一种车辆门禁道闸有效
图片尺寸1888x924
一种新型四面广告展示的道闸制造技术
图片尺寸1000x887
一种便更换维修的栏杆式道闸的制作方法
图片尺寸1000x715
一种直流无刷电机驱动的道闸的制作方法
图片尺寸387x217
自动门道闸
图片尺寸650x651
道闸简笔画地铁闸机简笔画小区道闸门简笔画路闸简笔画路闸简笔画出
图片尺寸500x623
非接触式ic卡停车场智能管理系统的设计
图片尺寸445x291
一种基于机器视觉车牌识别道闸的制作方法
图片尺寸1000x569
一种用于建筑工程管理的入口道闸结构的制作方法
图片尺寸493x495
一种道闸-爱企查
图片尺寸1545x946
一种外转子无刷电机道闸的制作方法
图片尺寸340x1000
一种防碰撞门禁道闸的制作方法
图片尺寸1000x925
道闸的功能配置怎么选(三) - 行业动态 - 道闸 - 新闻 - 昱瑾科技
图片尺寸500x500
一种具有道闸一体机的停车场系统的制作方法
图片尺寸1000x564
人行通道闸机,是一种限制人走动的道闸,广泛用于人流量较大的室内场合
图片尺寸444x371
车牌识别道闸一体装置的制作方法
图片尺寸444x343
一种道闸的制作方法
图片尺寸1000x677