遥控快艇图纸

致敬:动手达人,技术牛人 自己动手造一条独一无二的小游艇! - 抖音
图片尺寸1920x1712
快艇制作 #自制船制作教程 #手工船制作 一个人做一艘全实 - 抖音
图片尺寸1080x1920
超大号电动高速无线防水遥控快艇拉网遥控船充电船模型男孩玩具拖
图片尺寸790x655
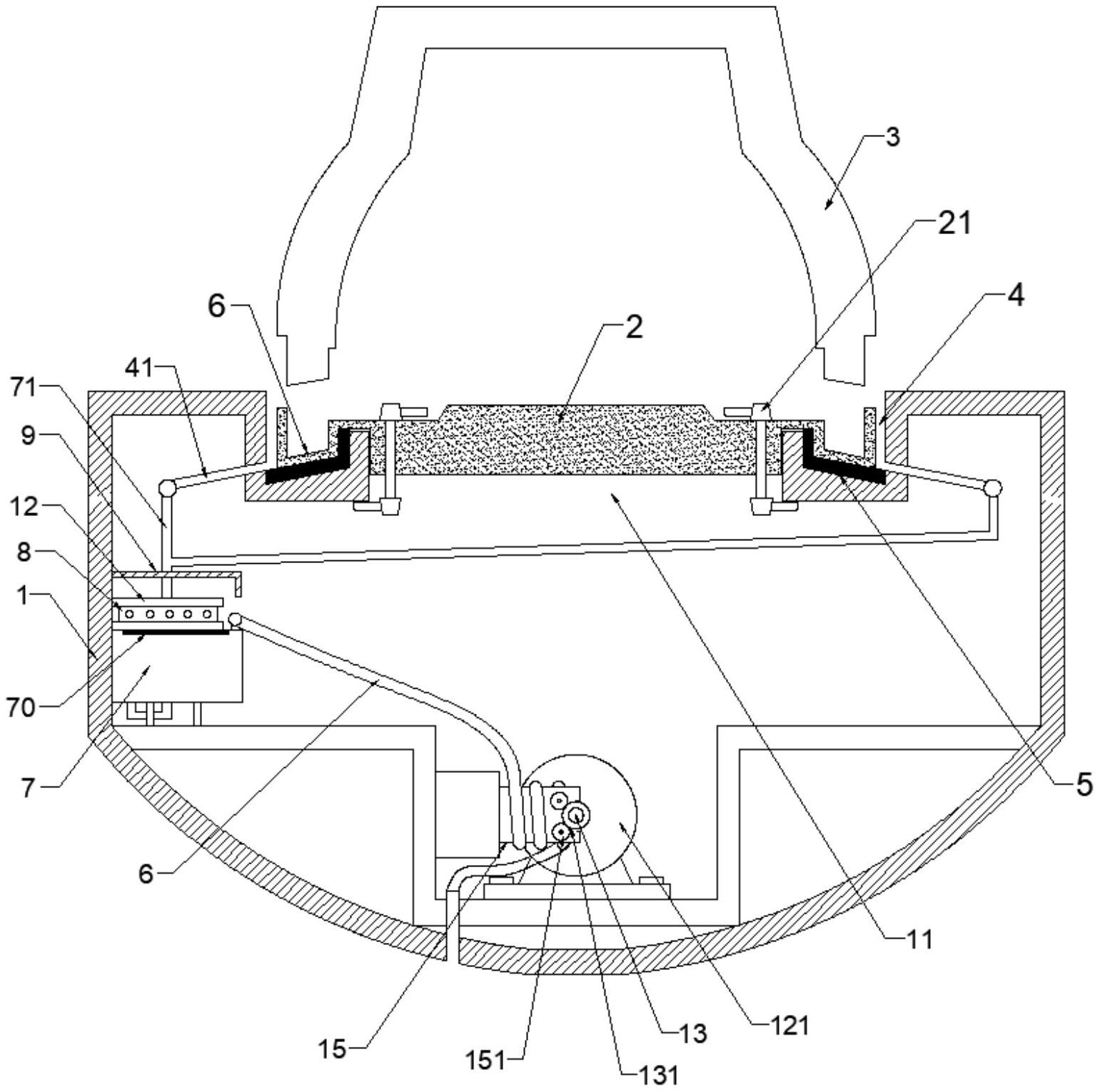
一种具有电池调节安装底座的遥控快艇
图片尺寸1595x1207
js1700休闲娱乐快艇
图片尺寸612x556
遥控船高速快艇游艇充电儿童水上电动模型轮船无线潜水艇玩具
图片尺寸790x1772
一种具有电池调节安装底座的遥控快艇的制作方法
图片尺寸1000x756
198快艇
图片尺寸4538x3356
快艇北420图纸
图片尺寸1741x2213
cn213555356u_一种多性能的遥控快艇有效
图片尺寸1541x1530
kyosho lamborghini c-1 cat 京商 兰博基尼 c-1快艇 分解图
图片尺寸769x1167
快艇图纸
图片尺寸818x1200
公务巡逻执法快艇
图片尺寸612x556
快艇图纸
图片尺寸754x1200
rc遥控潜水艇sw含图纸格式
图片尺寸1068x597
5.5米敞篷快艇 cad图纸
图片尺寸750x563
一种混动力快艇的制作方法
图片尺寸1000x705
900长度全打印遥控快艇
图片尺寸800x600
遥控船全套材料配件包组装手工制作图纸快艇玩具比赛支持多人同时
图片尺寸800x800
快艇设计图模型-海洋船舶图纸-沐风网
图片尺寸422x220