酸碱滴定装置图

p>滴定是指一种定量分析的手段,也是一种 a href="#" data-lemmaid="
图片尺寸307x519
测定酸碱滴定曲线
图片尺寸449x480
滴定
图片尺寸268x453
化学:3.2.4《酸碱中和滴定》课件(人教版选修4)ppt
图片尺寸1170x810
高考化学:酸碱中和滴定实验难掌握?不怕!这一讲解帮你记住难点
图片尺寸640x480
高中化学选修四《酸碱中和滴定实验》课件 2ppt
图片尺寸1080x810
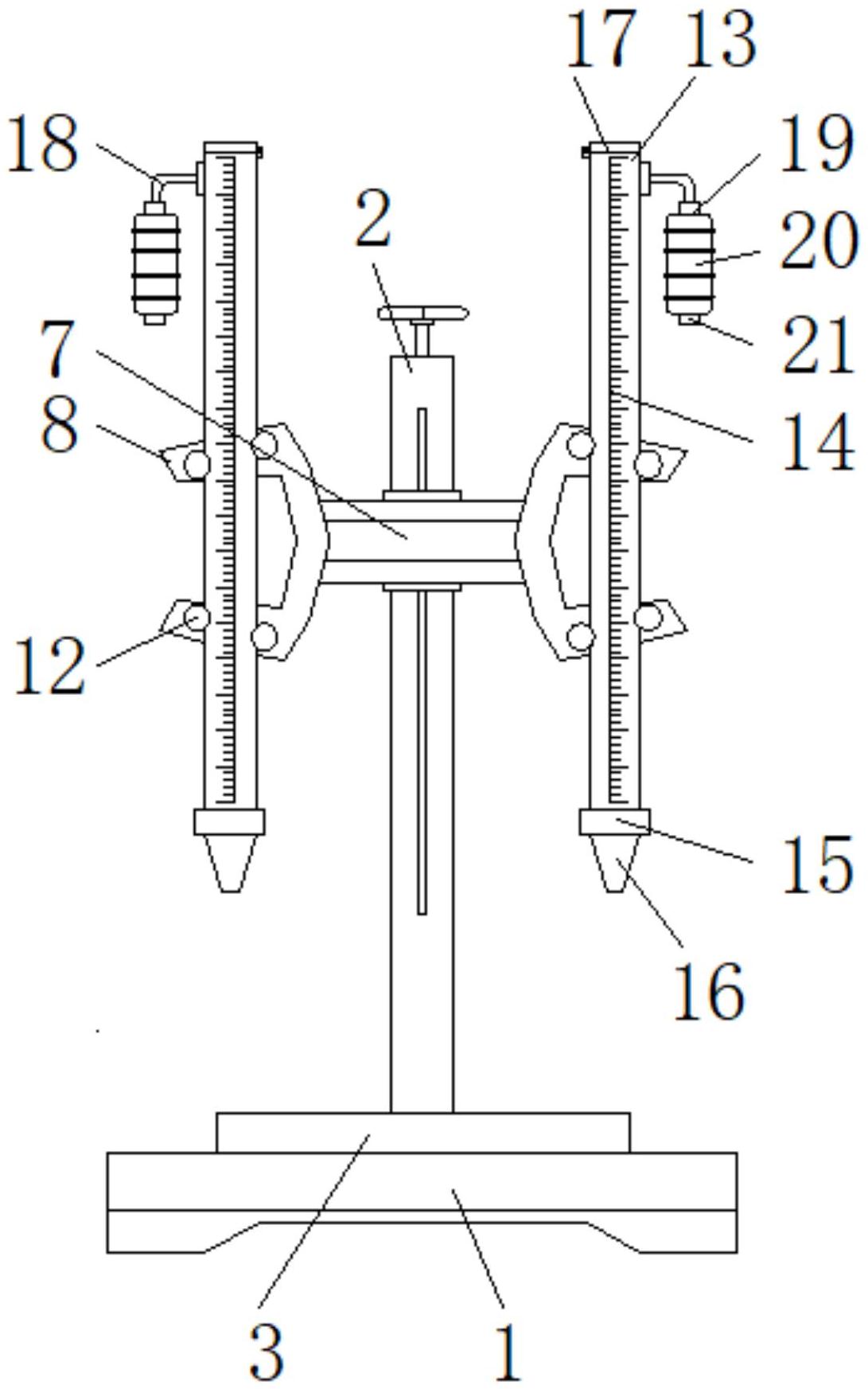
一种酸碱滴定装置
图片尺寸1038x971
实验室酸碱滴定装置 酸碱中和滴定管实验装置 10ml 25ml 50ml 100ml
图片尺寸800x800
运用手持技术探究酸碱滴定过程中电导率的变化
图片尺寸827x551
2 酸碱中和滴定实验文献分析研究图1是酸碱中和滴定的实验装置示意图
图片尺寸426x297
一种精度较高的酸碱滴定装置
图片尺寸746x1000
彭立安酸碱中和滴定预学,导学案
图片尺寸1091x885
滴定这样,酸式滴定管里是酸,锥形瓶里是碱
图片尺寸258x383
酸碱滴定时,需要用待测液润洗锥形瓶吗
图片尺寸600x401
化验员读本 下册 仪器分析 第五版最新章节_杜振霞著_掌阅小说网
图片尺寸1010x1202
高考聚焦之化学实验热点 : 酸碱中和滴定
图片尺寸634x499
酸碱中和滴定及曲线(课堂ppt)
图片尺寸1080x810
2019高考化学一轮复习酸碱中和滴定导学案(3)(含解析)
图片尺寸194x337
酸碱中和滴定原理的计算
图片尺寸268x257
cn212622442u_一种新型实验室用酸碱滴定装置有效
图片尺寸1091x1745