采血针结构

梦见注射器有好多针头,梦见别人用注射器扎我
图片尺寸640x400
康德莱单翼采血针_采血针_山东博科再生医学有限公司
图片尺寸790x740
cn206924076u_一种双翼安全防逆流采血针有效
图片尺寸1761x1582
cn203042258u_一次性可调深度采血针有效
图片尺寸868x1000
一种动静脉血采血针
图片尺寸658x1029
一种血液透析专用采血针
图片尺寸1589x2297
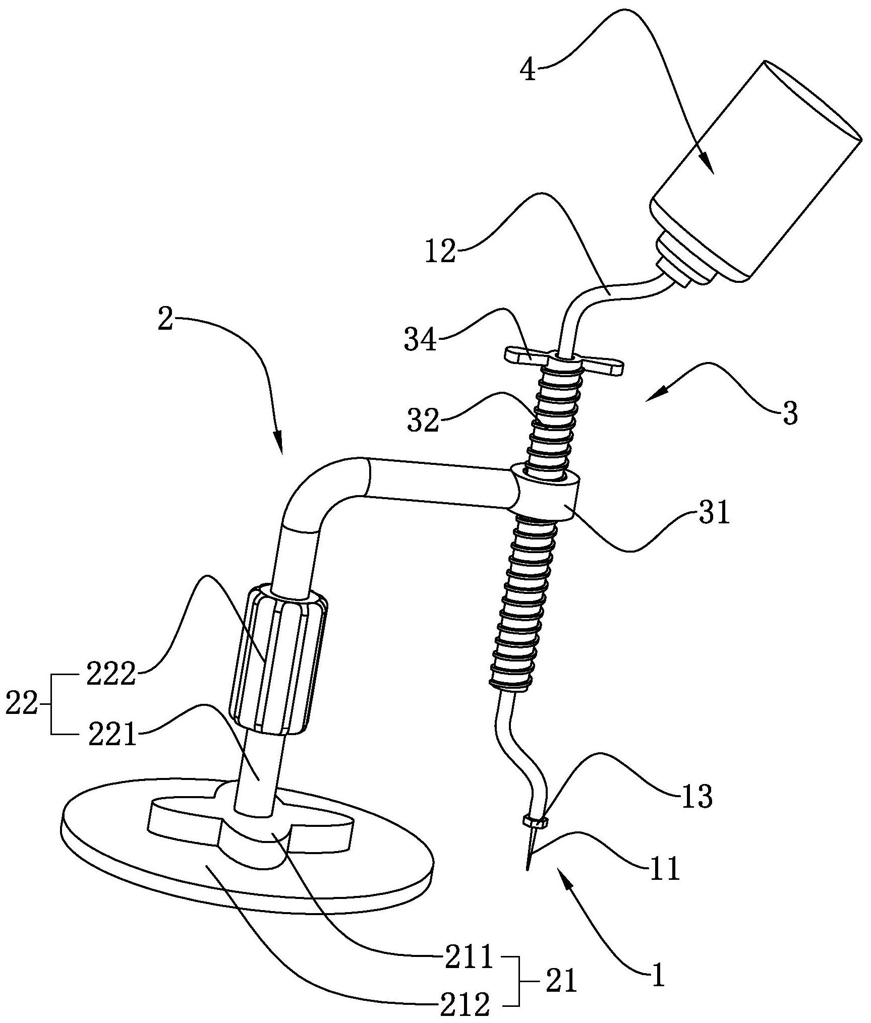
一种一次性使用静脉采血针的制作方法
图片尺寸932x1000
一种静脉采血针的制作方法
图片尺寸1000x866
一种双翼可转动的采血针的制作方法
图片尺寸1000x940
一种骨髓穿刺针
图片尺寸1280x899
高太医采血针详情_05.jpg
图片尺寸790x1196
一种安全采血针的制作方法
图片尺寸867x1000
一种血液科骨髓穿刺针
图片尺寸398x443
自固定采血针的制作方法
图片尺寸1000x688
性使用末梢采血针的针组件,涉及医疗设备技术领域,其结构包括调节机构
图片尺寸1656x1083
高太医一次性使用末梢采血针50支指尖测血糖家用放血针头医用无菌刺血
图片尺寸790x877
一款可粘贴留置针式静脉采血针的制作方法
图片尺寸1000x550
cn208892600u_一种可调节穿刺深度的采血针有效
图片尺寸926x1000
一种血液科骨髓穿刺针
图片尺寸1727x2029
康固全凝血检测仪
图片尺寸674x356