量子阱结构

图1.1 量子阱形貌结构示意图(a)及其能级结构示意图(b)
图片尺寸650x417
半导体量子阱结构简图
图片尺寸557x416
一种多量子阱结构,光电器件外延片及光电器件的制作方法
图片尺寸1000x488
通过求薛定谔方程数值解求解量子阱本征值
图片尺寸920x690
量子阱半导体激光器
图片尺寸456x474
led多量子阱结构装置及生长方法
图片尺寸413x668
的磁流变阻尼器能量阱装置,该装置包括与主结构相连的基底承台板(1)
图片尺寸1741x864
为什么"嗡嗡"成为科技界的热门词?
图片尺寸720x459
双异质结量子阱结构
图片尺寸386x218
半导体量子阱结构
图片尺寸789x615
magnetic separation
图片尺寸300x289
cn102104097a_多量子阱结构,发光二极管和发光二极管封装件失效
图片尺寸1650x911
一种离子阱质量分析器及其制作方法
图片尺寸1000x571
整体结构
图片尺寸624x549
离子阱量子储存系统示意图.
图片尺寸650x489
后来人们使用四级杆的结构加入前后端盖的方式开发出线型离子阱,线型
图片尺寸805x321
一种量子阱红外探测器件材料的制备方法与流程
图片尺寸1000x779
离子阱质谱的工作原理图
图片尺寸792x369
半导体超晶格和多量子阱.pdf 62页
图片尺寸972x729
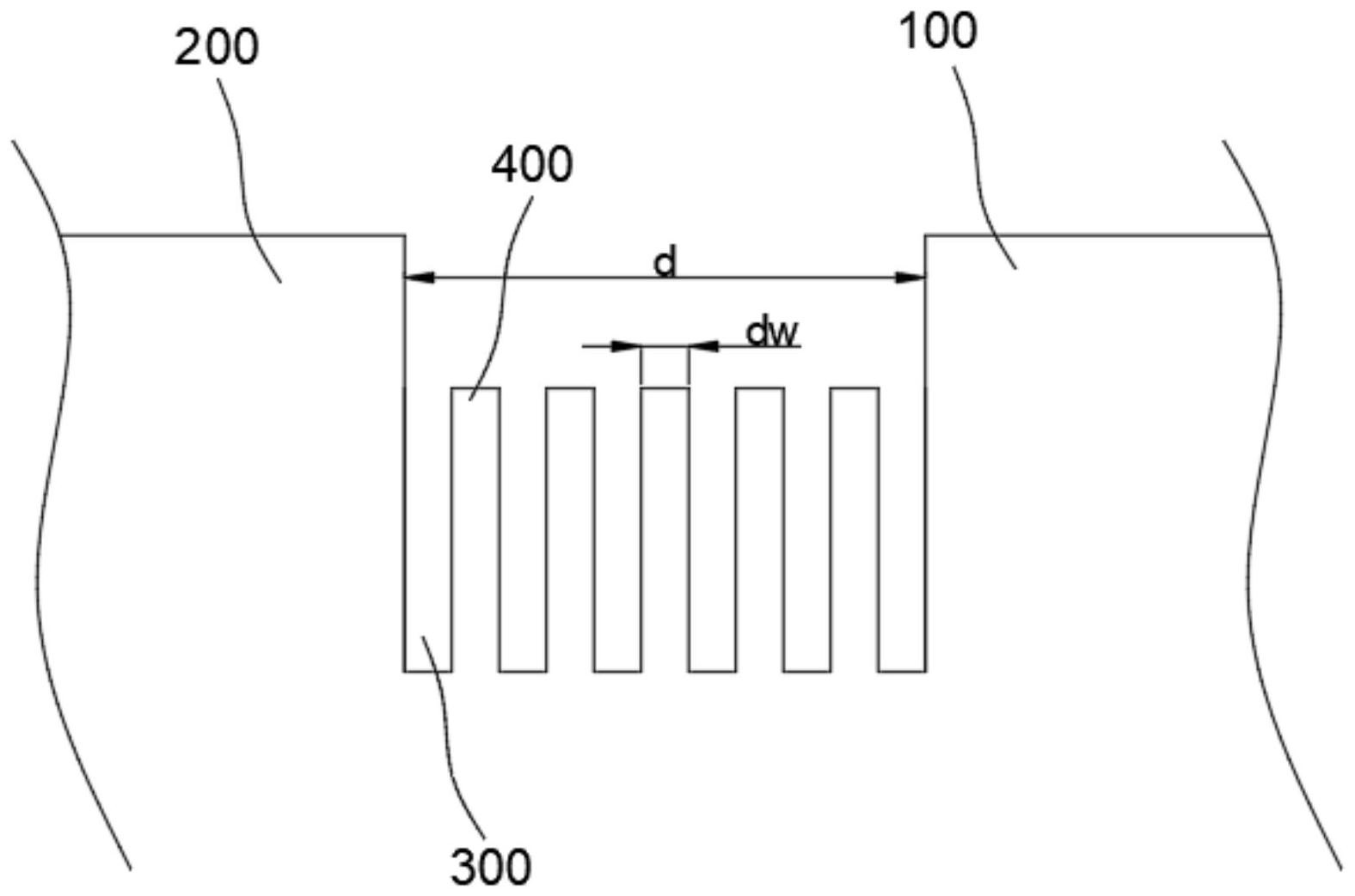
cn112636179a_量子阱结构,芯片加工方法,芯片及激光器
图片尺寸1576x1043